帶頂置滾子的輸送鏈

- 根據每條輸送鏈的規格,在鏈節距的頂部安裝一個上輥,該上輥直接輸送被輸送的貨物。
- 頂部滾子也可以制作工程塑膠或軸承滾子。
- ※標準鏈輪不可用。因為需要專用鏈輪,所以請咨詢本公司。
產品目錄、使用說明書
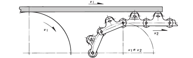
用途
- 當鏈條連續運行,而輸送的貨物在輸送機上的停止器停止或暫停時,堆積。
- ·同時進行同一鏈條上的運輸、停止作業時。
- ·輸送機轉移時的衝擊緩和
商品一覽表
※單擊查看詳細信息
*最大容許張力是根據我們的設計標準計算得出的值,即計算強度。除非另有規定,否則在選擇大型输送鏈條時應使用最大容許張力。
該數值因製造商而異,並非保證值。
※平均拉伸強度請咨詢本公司。
| 尺寸 | 滾子 類型 |
節距 | 滾子 外徑 |
內鏈節 內寬 |
上滾子 外徑 |
||||
|---|---|---|---|---|---|---|---|---|---|
| 75mm | 100mm | 150mm | 152.4mm | 200mm | Φmm | mm | Φmm | ||
| RF03 | R | RF03075R-TR | RF03100R-TR | --- | --- | --- | 31.8 | 16.1 | 40 |
| RF05 | R | --- | RF05100R-TR | RF05150R-TR | --- | --- | 40 | 22 | 40 |
| RF08 | R | --- | --- | RF08150R-TR | --- | --- | 44.5 | 27 | 40 |
| RF10 | R | --- | --- | RF10150R-TR | --- | --- | 50.8 | 30 | 50.8 |
| RF6205 | R | --- | --- | --- | RF6205R-TR | --- | 57.2 | 37.1 | 57.2 |
| RF12 | R | --- | --- | --- | --- | RF12200R-TR | 65 | 37.1 | 65 |
| RF17 | R | --- | --- | --- | --- | RF17200R-TR | 80 | 51.4 | 80 |


