其他專用鏈輪

- 備有專用鏈輪。
- 我們可以滿足各種需求,例如符合BS/DIN規格鏈輪和扭力限制器鏈輪。
- *BS鏈條用鏈輪:BS/DIN的規格品 (適用鏈條尺寸:RF06B~RS16B)
- *扭力限制器鏈輪:中央零件摩擦面精加工(適用鏈條尺寸:RS40 至 RS100)
BS鏈用鏈輪
- BS (歐洲標準) 滾子鏈需要專用BS鏈輪。
(JIS規格品的RS鏈輪因齒寬、外徑尺寸不同而無法使用。) - 由於本產品為按訂單生產品,我們還可以提供尺寸表中未列出的尺寸、齒頂淬火規格以及軸孔加工服務。詳情請與我們聯絡。
- 也可對應尺寸一覽表中未登載的尺寸(示例:20B、56B等)。請到本公司咨詢。
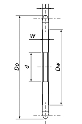
尺寸規格
註)選定鏈輪規格時
·需要選擇與客戶的使用環境和使用的鏈條規格相對應的鏈輪規格。詳細內容請參照各種鏈條和鏈輪的匹配表。
・軸孔為底孔孔,因此您需要在使用前自行加工軸孔。如果您需要軸孔已加工好的產品,請點擊此處。
扭力限制器鏈輪
- 對於扭力限制器這種機械式過載保護機器而言,中心構件摩擦面的表面光潔度對於準確可靠的過載偵測至關重要。
- 扭力限制器鏈輪經過特殊處理,可實現理想的表面光潔度,並將表面粗糙度降至最低。
型號表示例
| RS40 | - | 1 | A | 21T | - | CM | 30 |
| | 尺寸 |
| 列數 |
| 輪轂樣式 |
| 齒數 |
| | |
| 成品軸孔直徑d |
||
| 扭力限制器鏈輪 | |||||||
| 鏈條 No |
RS40 | RS50 | RS60 | RS80 | RS100 |
|---|---|---|---|---|---|
| W | 6.5 | 8.0 | 10.5 | 13.5 | 16.0 |
| t | 7.3 | 8.9 | 11.9 | 15.0 | 18.0 |
- 使用條件:鏈輪寬度 >扭力限制器套筒寬度
(即使尺寸相同也不能使用) - ·其他尺寸與標準鏈輪1A型相同。
- ・對於 d 和 Dw,請參考「扭力限制器相容性表」。
- ·d由H7制成。
*請務必查看扭力限制器產品目錄,以了解各零件的尺寸。
*訂購時,請務必註明扭力限制器型號。
扭力限制器相容性表
適合鏈輪範圍d x Dw
RS40
| 齒數 | 16 | 17 | 18 | 19 | 20 | 21 | 22 | 23 | 24 | 25 | 26 | 27 | 28 | 30 | 32 | 34 | 35 | 36 | 38 | 40 | 42 | 45 | 48 | 50 |
|---|---|---|---|---|---|---|---|---|---|---|---|---|---|---|---|---|---|---|---|---|---|---|---|---|
| TL200 | 30x53 | |||||||||||||||||||||||
| TL250 | 41x68 | |||||||||||||||||||||||
| TL350 | 49x92 | |||||||||||||||||||||||
RS50
| 齒數 | 16 | 17 | 18 | 19 | 20 | 21 | 22 | 23 | 24 | 25 | 26 | 27 | 28 | 30 | 32 | 34 | 35 | 36 | 38 | 40 | 42 | 45 | 48 | 50 |
|---|---|---|---|---|---|---|---|---|---|---|---|---|---|---|---|---|---|---|---|---|---|---|---|---|
| TL250 | 41x68 | |||||||||||||||||||||||
| TL350 | 49x92 | |||||||||||||||||||||||
| TL500 | 74x132 | |||||||||||||||||||||||
RS60
| 齒數 | 16 | 17 | 18 | 19 | 20 | 21 | 22 | 23 | 24 | 25 | 26 | 27 | 28 | 30 | 32 | 34 | 35 | 36 | 38 | 40 | 42 | 45 | 48 | 50 |
|---|---|---|---|---|---|---|---|---|---|---|---|---|---|---|---|---|---|---|---|---|---|---|---|---|
| TL350 | 49x92 | |||||||||||||||||||||||
| TL500 | 74x132 | |||||||||||||||||||||||
| TL700 | 105x184 | |||||||||||||||||||||||
RS80
| 齒數 | 16 | 17 | 18 | 19 | 20 | 21 | 22 | 23 | 24 | 25 | 26 | 27 | 28 | 30 | 32 | 34 | 35 | 36 | 38 | 40 | 42 | 45 | 48 | 50 |
|---|---|---|---|---|---|---|---|---|---|---|---|---|---|---|---|---|---|---|---|---|---|---|---|---|
| TL500 | 74x132 | |||||||||||||||||||||||
| TL700 | 105x184 | |||||||||||||||||||||||
RS100
| 齒數 | 16 | 17 | 18 | 19 | 20 | 21 | 22 | 23 | 24 | 25 | 26 | 27 | 28 | 30 | 32 | 34 | 35 | 36 | 38 | 40 | 42 | 45 | 48 | 50 |
|---|---|---|---|---|---|---|---|---|---|---|---|---|---|---|---|---|---|---|---|---|---|---|---|---|
| TL700 | 105x184 | |||||||||||||||||||||||
*使用RS40鏈輪、TL250、TL350時,請確認套筒寬度。
*我們可以安裝扭力限制器相符的鏈輪。我們也可以安裝其他特殊尺寸的鏈輪。
