大型輸送鏈連結鏈節 螺絲鎖緊式接頭

- 只需一把扭力扳手,任何人都可以輕鬆、安全、可靠地切斷&連接。
- 有了這個連結鏈節,任何人都可以用扭力扳手輕鬆地完成大型输送鏈條的危險且技術要求很高的切斷&連接。
- 傳統上,切斷&連接都是用錘子完成的,但是
- ·危險
因為必須用錘子用力敲打,所以會有碎片飛散、手被撞擊等工傷事故的風險 - ·需要技術
若操作不當,可能會因外鏈片過度按壓而導致彎曲不良 - ·需要工時,影響生產效率
由於需要上述技術,因此可能需要安排技術人員 - ·需要大型工具
隨著鏈條變大,需要大型工具、夾具時 - 有各種各樣的問題,比如。
- 使用螺絲鎖緊式接頭,只需使用扭力扳手將螺帽擰緊至規定的扭力即可,因此任何人都可以輕鬆、安全、快速、可靠地進行切斷&連接工作。
產品目錄、使用說明書
主要適用產品
關於其他可以制作的規格,請確認以下內容。
操作要領
| ⚠註意事項 |
對於水平、傾斜和垂直輸送機,在切割或切斷&連接之前,使用鏈條滑車、鋼絲等,以確保在切斷&連接點處鏈條沒有張力。 |
|---|
接法
1. 拆下螺母,並將接頭鏈片拆下。
2. 將鏈條的兩端拉到一起,將連結鏈節插入內鏈節的接合處,然後用接頭鏈片蓋住。
3.用下述指定的扭矩擰緊下螺母。擰緊螺母時,請用抹佈等擦拭螺絲部分的油分和附著物。
4.用下面指定的扭矩擰緊上螺母,連接完成。
螺母的擰緊扭矩 (N・m) ※1
| RF10 | RF12 | RF17 | RF26 | RF36 | RF52 | RF60 | RF90 | ||
|---|---|---|---|---|---|---|---|---|---|
| 標準類型※2 | 螺母尺寸 | M12×P1.75 | M12×P1.75 | M14×P2.0 | M16×P2.0 | M20×P2.5 | M24×P3.0 | M27×P3.0 | M30×P3.5 |
| 下螺母 | 27~32 | 28~33 | 46~55 | 72~82 | 120~130 | 218~228 | 250~260 | 367~377 | |
| 上螺母 | 27~32 | 28~33 | 46~55 | 72~82 | 120~130 | 218~228 | 250~260 | 367~377 | |
| 短款※3 | 螺母尺寸 | M12×P1.0 | M12×P1.0 | M15×P1.0 | M17×P1.0 | M20×P1.0 | M25×P1.5 | M30×P1.5 | M35×P1.5 |
| 下螺母 | 23~27 | 28~33 | 49~58 | 76~86 | 117~127 | 227~237 | 254~264 | 428~438 | |
| 上螺母 | 16~19 | 16~19 | 28~33 | 37~44 | 55~65 | 80~90 | 115~125 | 130~140 | |
- ※1.上表為鋼螺母的擰緊扭矩。請咨詢不鏽鋼制螺母的擰緊扭矩。
- ※2.由於擰緊下螺母時螺栓會伸出,標準型建議使用深插座。
- ※3.短款為四開口形螺母。請使用扳手或插座。
切法
- 1. 按上螺帽和下螺帽的順序卸下螺帽。
*由於搬運物的黏附或腐蝕,螺帽可能不易拆卸。 - 2. 拆下接頭鏈片,將連結鏈節從內鏈節節拆下。
商品規格一覽表
標準類型
短款
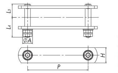
| 尺寸 | 最大容許張力 | 最小抗拉強度 | 間距 P |
銷軸 | 螺母尺寸 | 接頭套筒 法蘭直徑 |
概略附加質量 (kg/處) |
||||||
|---|---|---|---|---|---|---|---|---|---|---|---|---|---|
| 連接銷 | |||||||||||||
| DT kN{kgf} |
AT kN{kgf} |
DT kN{kgf} |
AT kN{kgf} |
L3 | 標準 款式 |
短版 款式 |
標準 款式 |
短版 款式 |
A | 標準 款式 |
短版 款式 |
||
| L4 | L5 | ||||||||||||
| RF10100 | 17.6 {1790} |
32.3 {3290} |
107 {11000} |
169 {17000} |
100 | 33 | 48.5 | 42 | M12 | M12 | 25 | 0.13 | 0.08 |
| RF10125 | 125 | ||||||||||||
| RF10150 | 150 | ||||||||||||
| RF12200 | 26.6 {2710} |
39.9 {4060} |
160 {16500} |
249 {25500} |
200 | 40.5 | 55.5 | 49 | M12 | M12 | 28 | 0.17 | 0.11 |
| RF12250 | 250 | ||||||||||||
| RF17200 | 35.0 {3570} |
55.3 {5640} |
213 {22000} |
336 {34000} |
200 | 51.5 | 69.5 | 61.5 | M14 | M15 | 32 | 0.25 | 0.14 |
| RF17250 | 250 | ||||||||||||
| RF17300 | 300 | ||||||||||||
| RF26200 | 44.9 {4570} |
74.3 {7580} |
285 {29000} |
448 {45500} |
200 | 55.5 | 74 | 64 | M16 | M17 | 36 | 0.33 | 0.17 |
| RF26250 | 250 | ||||||||||||
| RF26300 | 300 | ||||||||||||
| RF26450 | 450 | ||||||||||||
| RF36250 | 68.0 {6930} |
97.4 {9930} |
457 {46500} |
614 {62500} |
250 | 66 | 91.5 | 78.5 | M20 | M20 | 42 | 0.55 | 0.26 |
| RF36300 | 300 | ||||||||||||
| RF36450 | 450 | ||||||||||||
| RF36600 | 600 | ||||||||||||
| RF52300 | 71.4 {7280} |
147 {15000} |
481 {49000} |
953 {97000} |
300 | 79 | 110 | 93.5 | M24 | M25 | 48 | 0.85 | 0.39 |
| RF52450 | 450 | ||||||||||||
| RF52600 | 600 | ||||||||||||
| RF60300 | 71.4 {7280} |
149 {15200} |
479 {49000} |
1010 {103000} |
300 | 72.5 | 104 | 86.5 | M27 | M30 | 55 | 1.18 | 0.53 |
| RF60350 | 350 | ||||||||||||
| RF60400 | 400 | ||||||||||||
| RF90350 | 113 {11500} |
233 {23700} |
754 {77000} |
1600 {163000} |
350 | 85.5 | 120.5 | 102 | M30 | M35 | 65 | 1.85 | 0.88 |
| RF90400 | 400 | ||||||||||||
| RF90500 | 500 | ||||||||||||
註)
- 1.工作溫度範圍為-20°C至150°C。在使用溫度範圍外使用時,請與本公司協商。
- 2.引腳長度L4、L5大於L2普通引腳。檢查與設備的幹擾。
- 3.請使用扳手或插座擰緊短款螺母。
- 4. 有關附件類型,請參閱「椿本大型輸送鏈條和鏈輪」產品目錄。
- 5.有時也可制作上表以外的尺寸 (英制等) 或規格 (不鏽鋼規格等) 。請商量。
價格和交貨期
DT規格(標準型)
| 尺寸 | 附件 | |||||||
|---|---|---|---|---|---|---|---|---|
| 無 | A2 | K2 | GA2 | |||||
| 建議售價 | 交貨期 | 建議售價 | 交貨期 | 建議售價 | 交貨期 | 建議售價 | 交貨期 | |
| RF10100 | 請咨詢 | 請咨詢 | 請咨詢 | 請咨詢 | 請咨詢 | 請咨詢 | 請咨詢 | 請咨詢 |
| RF10125 | 請咨詢 | 請咨詢 | 請咨詢 | 請咨詢 | 請咨詢 | 請咨詢 | 請咨詢 | 請咨詢 |
| RF10150 | 請咨詢 | 請咨詢 | 請咨詢 | 請咨詢 | 請咨詢 | 請咨詢 | 請咨詢 | 請咨詢 |
| RF12200 | 請咨詢 | 請咨詢 | 請咨詢 | 請咨詢 | 請咨詢 | 請咨詢 | 請咨詢 | 請咨詢 |
| RF12250 | 請咨詢 | 請咨詢 | 請咨詢 | 請咨詢 | 請咨詢 | 請咨詢 | 請咨詢 | 請咨詢 |
| RF17200 | 請咨詢 | 請咨詢 | 請咨詢 | 請咨詢 | 請咨詢 | 請咨詢 | 請咨詢 | 請咨詢 |
| RF17250 | 請咨詢 | 請咨詢 | 請咨詢 | 請咨詢 | 請咨詢 | 請咨詢 | 請咨詢 | 請咨詢 |
| RF17300 | 請咨詢 | 請咨詢 | 請咨詢 | 請咨詢 | 請咨詢 | 請咨詢 | 請咨詢 | 請咨詢 |
AT規格(標準型)
| 尺寸 | 附件 | |||||||
|---|---|---|---|---|---|---|---|---|
| 無 | A2 | K2 | GA2 | |||||
| 建議售價 | 交貨期 | 建議售價 | 交貨期 | 建議售價 | 交貨期 | 建議售價 | 交貨期 | |
| RF10100 | 請咨詢 | 請咨詢 | 請咨詢 | 請咨詢 | 請咨詢 | 請咨詢 | 請咨詢 | 請咨詢 |
| RF10125 | 請咨詢 | 請咨詢 | 請咨詢 | 請咨詢 | 請咨詢 | 請咨詢 | 請咨詢 | 請咨詢 |
| RF10150 | 請咨詢 | 請咨詢 | 請咨詢 | 請咨詢 | 請咨詢 | 請咨詢 | 請咨詢 | 請咨詢 |
| RF12200 | 請咨詢 | 請咨詢 | 請咨詢 | 請咨詢 | 請咨詢 | 請咨詢 | 請咨詢 | 請咨詢 |
| RF12250 | 請咨詢 | 請咨詢 | 請咨詢 | 請咨詢 | 請咨詢 | 請咨詢 | 請咨詢 | 請咨詢 |
| RF17200 | 請咨詢 | 請咨詢 | 請咨詢 | 請咨詢 | 請咨詢 | 請咨詢 | 請咨詢 | 請咨詢 |
| RF17250 | 請咨詢 | 請咨詢 | 請咨詢 | 請咨詢 | 請咨詢 | 請咨詢 | 請咨詢 | 請咨詢 |
| RF17300 | 請咨詢 | 請咨詢 | 請咨詢 | 請咨詢 | 請咨詢 | 請咨詢 | 請咨詢 | 請咨詢 |
※上表中未登載的規格、尺寸、短款、編制品為每次報價,敬請垂詢。

