Q&A 鏈輪
我們已將客戶提出的「常見問題」以問答形式發布。請點選問題查看答案。
Q&A 中的詞語。
鏈輪整體關聯
RS鏈輪用於傳動鏈條
小型輸送鏈條用鏈輪
| Q60 | 傳動鏈用RS鏈輪是否可以用於雙倍節S滾輪? |
|---|---|
| Q61 | RS型傳動鏈條鏈輪能否用於小型輸送鏈條? |
| Q62 | 為什麼專為雙節距(S 型滾輪)設計的雙節距鏈輪建議使用奇數齒? |
| Q63 | 我使用的是空心銷雙節距。我可以使用哪種鏈輪? |
| Q64 | 小型輸送鏈條的安裝精度和安裝步驟是什麼? |
| Q65 | 小型輸送鏈條用雙節距鏈輪的使用壽命何時終止?需要重點檢查哪些方面? |
大型输送鏈條用鏈輪
| Q66 | 大型输送鏈條用鏈輪至少需要多少個齒? |
|---|---|
| Q67 | 關於大型输送鏈條用鏈輪,是否可以製造沒有輪轂的A型鏈輪? |
| Q68 | 大型输送鏈條用鏈輪有掛孔嗎? |
| Q69 | 大型输送鏈條用鏈輪的安裝精度和安裝步驟是什麼? |
| Q70 | 大型输送鏈條用鏈輪何時達到使用壽命終點?關鍵檢查點有哪些? |

| Q1 | 鏈輪如何選型? | |||||||||||||||||||||||||||||||||||||||||||||||||||||||||||
|---|---|---|---|---|---|---|---|---|---|---|---|---|---|---|---|---|---|---|---|---|---|---|---|---|---|---|---|---|---|---|---|---|---|---|---|---|---|---|---|---|---|---|---|---|---|---|---|---|---|---|---|---|---|---|---|---|---|---|---|---|
| A1 |
選擇鏈輪時必須考慮所使用鏈子的型號和規格。 基本步驟如下。
|
|||||||||||||||||||||||||||||||||||||||||||||||||||||||||||
| Q2 | 請告訴我鏈輪使用的主要材料。 | |||||||||||||||||||||||||||||||||||||||||||||||||||||||||||
| A2 |
本公司使用的鏈輪材料主要如下表所示。 目錄上登載的產品中沒有下表所列產品的產品,將通過報價、按訂單生產進行制作。請咨詢。
|
|||||||||||||||||||||||||||||||||||||||||||||||||||||||||||
| Q3 | 鏈輪使用什麼類型的不銹鋼? 哪個類型可進行齒端硬化處理? | |||||||||||||||||||||||||||||||||||||||||||||||||||||||||||
| A3 |
用於不鏽鋼鏈輪的材料如下表所示。請參考。 目錄中列出的不鏽鋼鏈輪由奧氏體不鏽鋼(SUS304系列)製成,由於材料的特性,不能進行齒頂硬化處理(淬火)。 如果您需要使用不鏽鋼進行齒頂硬化處理,我們可以採用馬氏體不鏽鋼(SUS420系列)進行製造。 (需報價/按訂單生產品) 可提供透過實施表面處理來提高硬度的高強度不銹鋼鏈條。 (報價/訂單生產品) 如果您有要求的話,請咨詢。
|
|||||||||||||||||||||||||||||||||||||||||||||||||||||||||||
| Q4 | 使用不鏽鋼和鋼制的組合鏈輪和鏈條時,會有問題嗎? | |||||||||||||||||||||||||||||||||||||||||||||||||||||||||||
| A4 |
建議使用相同材質。不鏽鋼鏈輪是以與不鏽鋼鏈的組合為前提推出的。 例如,不鏽鋼制鏈條和鋼制鏈輪電鍍型組合使用時,可能會發生電位差腐蝕 (電蝕),導衹早期磨損。 |
|||||||||||||||||||||||||||||||||||||||||||||||||||||||||||
| Q5 | 產品目錄中提到“齒頂硬化處理”,但鏈輪究竟進行了什麼樣的處理呢? | |||||||||||||||||||||||||||||||||||||||||||||||||||||||||||
| A5 |
目錄中所描述的「齒頂硬化處理」是一種透過高週波熱處理來硬化表面的工藝。 齒端硬化處理可提高耐磨損性和強度。一般如果迴轉次數高(單位時間內的鏈條咬合次數多),或齒數少,接觸角度小,有磨損物的場合,實施齒端硬化處理。 一般而言,機械結構用碳鋼被用作齒頂硬化處理的材料,但也可依要求使用結構合金鋼。 作為硬化處理的一種,稱之為「齒端硬化處理 =淬火硬化規格」或「無齒端硬化處理 =無硬化規格」。 |
|||||||||||||||||||||||||||||||||||||||||||||||||||||||||||
| Q6 | 請告訴我鏈輪的各部分名稱。 | |||||||||||||||||||||||||||||||||||||||||||||||||||||||||||
| A6 |
鏈輪各部分的名稱如下。
|
|||||||||||||||||||||||||||||||||||||||||||||||||||||||||||
| Q7 | 鏈輪上標準附帶的“固定螺絲”是什麽樣的螺絲? | |||||||||||||||||||||||||||||||||||||||||||||||||||||||||||
| A7 |
本公司鏈輪的標準固定螺絲規格為“六角孔固定螺絲 (凹陷處) ”。 適配孔規格以外的標準鏈輪,特型鏈輪(報價/訂單生產品)一般不添付。 主體為不鏽鋼類型或電鍍規格的產品附帶不鏽鋼制的固定螺絲。 |
|||||||||||||||||||||||||||||||||||||||||||||||||||||||||||
| Q8 | 鏈輪的形狀有什麽樣的? | |||||||||||||||||||||||||||||||||||||||||||||||||||||||||||
| A8 |
|
|||||||||||||||||||||||||||||||||||||||||||||||||||||||||||
| Q9 | 我想只買A型鏈輪,焊接輪轂。有問題嗎? | |||||||||||||||||||||||||||||||||||||||||||||||||||||||||||
| A9 |
A型鏈輪上的輪轂焊縫可能會因焊縫過熱而無法保持質量。 請客人避免自己焊接,與本公司商談。 |
|||||||||||||||||||||||||||||||||||||||||||||||||||||||||||
| Q10 | 訂貨後發現在佈局上鏈輪的輪轂直徑會有幹涉。加工輪轂也沒關係嗎? | |||||||||||||||||||||||||||||||||||||||||||||||||||||||||||
| A10 |
由於顧客追加加工的原因,可能會發生破損等事故,所以不推薦。 |
|||||||||||||||||||||||||||||||||||||||||||||||||||||||||||
| Q11 | 產品目錄中的「底孔」是什麼意思? 這是否意味著軸孔尺寸可以在產品目錄中「底孔到最大軸孔直徑的範圍」內製造? |
|||||||||||||||||||||||||||||||||||||||||||||||||||||||||||
| A11 |
底孔是製造鏈輪過程中必須鑽出的孔,通常不會鑽得像軸組裝那樣精確。 在預留孔徑+1mm~最大軸孔徑的範圍內,可依適當公差加工軸孔尺寸。 |
|||||||||||||||||||||||||||||||||||||||||||||||||||||||||||
| Q12 | 鏈輪軸孔最大可以加工到多大? | |||||||||||||||||||||||||||||||||||||||||||||||||||||||||||
| A12 |
標準底孔軸孔的加工尺寸小於目錄中每個型號和齒數對應的尺寸表中所列的「最大軸孔直徑」。 對於沒有記載最大軸孔直徑的A型鏈輪,我們將研究制作,請與本公司商談。 |
|||||||||||||||||||||||||||||||||||||||||||||||||||||||||||
| Q13 | 如果使用超過最大軸孔直徑的孔徑會怎麽樣?輪轂的厚度薄的話會有什麽問題嗎? | |||||||||||||||||||||||||||||||||||||||||||||||||||||||||||
| A13 |
輪轂厚度影響鏈輪強度,否則會導衹開裂或損壞。 根據鏈條的使用條件,為了不損壞鏈輪,應充分考慮強度,設計輪轂直徑、軸孔直徑。 我們也提供TOUGH TOOTH鏈輪,建議強力鏈條使用,可在不改變尺寸的情況下提高輪轂強度。 輪轂強度不足,或因空間原因無法更改輪轂尺寸時,請考慮使用。
|
|||||||||||||||||||||||||||||||||||||||||||||||||||||||||||
| Q14 | 鏈輪的齒和鍵槽加工的位置關係是怎樣的?可以指定嗎? | |||||||||||||||||||||||||||||||||||||||||||||||||||||||||||
| A14 |
如果沒有指定,鍵槽加工在以下位置。
|
|||||||||||||||||||||||||||||||||||||||||||||||||||||||||||
| Q15 | 可以進行指示鏈輪的齒和鍵槽位置關係的加工嗎? | |||||||||||||||||||||||||||||||||||||||||||||||||||||||||||
| A15 |
可以作為特殊規格製作。 對於“相位對準”,請指定鍵槽加工位置是否應與“齒頂”中心或“歯底”中心對齊。 通常,椿本的傳動鏈用・雙倍節距用將其與齒底中心對齊,大型輸送鏈用則與齒頂對齊。 對準精度為目視程度。有具體標準的情況下,請咨詢。 ※在同軸上使用多個鏈輪時,特別需要精度時,需要發出『並列使用』的指示。 ※並列使用:請參見「Q16.同軸使用多個鏈輪時,鍵槽的相對位置是什麽?」。齒端配合
齒底配合
|
|||||||||||||||||||||||||||||||||||||||||||||||||||||||||||
| Q16 | 同軸使用多個鏈輪時,鍵槽的相對位置是什麽? | |||||||||||||||||||||||||||||||||||||||||||||||||||||||||||
| A16 |
基本上不考慮。需要考慮相對鍵槽位置關係時,請註明『並列使用』。 那時請確認以下2點後再指示。對準精度為目視程度。
※它不同於“相位匹配”,它調整鍵槽和牙齒的位置關係。如果需要相位匹配,請另行說明。 ※請參見「Q15.可以進行表示鏈輪的齒和鍵槽位置關係的加工嗎?」。2個1組 (輪轂同方向)
2個1組 (輪轂外-外)
2個1組 (輪轂內-內)
4個1組 (3個同方向)
|
|||||||||||||||||||||||||||||||||||||||||||||||||||||||||||
| Q17 | 配孔是什麼類型的產品? | |||||||||||||||||||||||||||||||||||||||||||||||||||||||||||
| A17 |
「配孔」指「有完整軸孔的鏈輪」。 意為“Fit =相配,bore =開孔”,請從商品目錄中所登載的服務範圍內選擇規格。敝公司進行軸孔,鍵槽,攻牙加工後交貨,客戶可立即使用。 分為“本公司指定的軸孔加工完成的庫存品”、“根據客戶選擇的內容進行軸孔加工的按訂單生產品”。 在 TT-net圖紙庫中,您可以從超過 1 億個軸孔加工規格選項中進行選擇。 除了鏈輪,配孔還提供時規皮帶輪。
返回到問題
|
|||||||||||||||||||||||||||||||||||||||||||||||||||||||||||
| Q18 | 可以在鏈輪上裝入軸承交貨嗎? | |||||||||||||||||||||||||||||||||||||||||||||||||||||||||||
| A18 |
根據規格和條件,有時也會拒絕,但我們會討論是否可以制作。請咨詢。
返回到問題
|
|||||||||||||||||||||||||||||||||||||||||||||||||||||||||||
| Q19 | 什麼是張緊鏈輪? | |||||||||||||||||||||||||||||||||||||||||||||||||||||||||||
| A19 |
張緊鏈輪是一種利用摩擦力將鏈輪固定在軸上的鏈輪,無需使用鍵即可固定,其特點如下:
擰緊螺栓時,請務必使用扭矩扳手。 如果沒有正確安裝合適的扭矩,鏈輪就會打滑旋轉。 軸徑公差h8軸表面粗糙度以Rq3.2為基準。 其他注意事項請參考產品目錄和使用說明書,並正確使用產品。
|
|||||||||||||||||||||||||||||||||||||||||||||||||||||||||||
| Q20 | 你們能生產軸徑以英吋為單位的張緊鏈輪嗎? | |||||||||||||||||||||||||||||||||||||||||||||||||||||||||||
| A20 |
張緊鏈輪沒有英制尺寸。 椿本動力鎖有英吋尺寸,因此我們建議使用動力鎖。 |
|||||||||||||||||||||||||||||||||||||||||||||||||||||||||||
| Q21 | 我可以在有鍵槽的軸上使用張緊鏈輪嗎? | |||||||||||||||||||||||||||||||||||||||||||||||||||||||||||
| A21 |
只要是帶有一般鍵槽形狀的軸就可以使用。 但是,允許傳遞扭矩會減少約10%,敬請註意。 這是由於止動套筒與軸的接觸面積因鍵槽而減少了。 同樣,當使用椿本動力鎖時,允許的傳動扭力將會降低。 |
|||||||||||||||||||||||||||||||||||||||||||||||||||||||||||
| Q22 | 使用動力鎖將鏈輪固定在帶有鍵槽的軸上是否可行? | |||||||||||||||||||||||||||||||||||||||||||||||||||||||||||
| A22 |
如果是採用一般鍵槽形狀的軸,可以使用EL系列以外的系列。 但是,允許傳遞扭矩會減少約10%,敬請註意。 這是因為鍵槽的尺寸減少了動力鎖與軸之間的接觸面積。 同樣,當使用張緊鏈輪時,允許的傳動扭力也會降低。 |
|||||||||||||||||||||||||||||||||||||||||||||||||||||||||||
| Q23 | 我正在考慮使用張緊鏈輪。是否可以對張緊鏈輪進行表面處理? | |||||||||||||||||||||||||||||||||||||||||||||||||||||||||||
| A23 |
根據表面處理的內容而定,可按報價品、按訂單生產。
返回到問題
|
|||||||||||||||||||||||||||||||||||||||||||||||||||||||||||
| Q24 | 你有不鏽鋼張緊鏈輪嗎? | |||||||||||||||||||||||||||||||||||||||||||||||||||||||||||
| A24 |
張緊鏈輪不提供不銹鋼材質產品。 如果您需要不鏽鋼摩擦鎖定型鏈輪,我們建議將椿本 RS 鏈輪(不鏽鋼規格)與椿本動力鎖(不鏽鋼規格)結合使用。 |
|||||||||||||||||||||||||||||||||||||||||||||||||||||||||||
| Q25 | 表面處理可以進行什麽樣的處理? | |||||||||||||||||||||||||||||||||||||||||||||||||||||||||||
| A25 |
表面處理是對金屬表面進行熱處理和化學反應,不僅是為了外觀好,還為了提高耐腐蝕性、耐磨損性而實施的。 本公司實施的代表性表面處理有以下3種。(※根據尺寸有限制,需要時請咨詢)
此外,建議強力鏈條使用的「TOUGH TOOTH」鏈輪,也經過處理,表面硬度達到 HV800 或更高。 基本上,電鍍不處理軸孔內徑。
|
|||||||||||||||||||||||||||||||||||||||||||||||||||||||||||
| Q26 | 我想對鏈輪進行電鍍處理,應該註意的地方是什麽? | |||||||||||||||||||||||||||||||||||||||||||||||||||||||||||
| A26 |
可能會造成強度下降等原因,因此不建議購買後由客戶對產品進行表面處理。
返回到問題
|
|||||||||||||||||||||||||||||||||||||||||||||||||||||||||||
| Q27 | 我應該為椿本的免加油免加油鏈條選擇哪種鏈輪? | |||||||||||||||||||||||||||||||||||||||||||||||||||||||||||
| A27 |
選擇雙排或雙排以上時,請注意鏈條的橫向節距尺寸。
|
|||||||||||||||||||||||||||||||||||||||||||||||||||||||||||
| Q28 | 你們能製造出有剪力銷鏈輪嗎? | |||||||||||||||||||||||||||||||||||||||||||||||||||||||||||
| A28 |
本公司難以決定尺寸和斷裂強度的規格。如果不能提供詳細條件,很抱歉,因為品質保證方面的問題,我們會拒絕。 |
|||||||||||||||||||||||||||||||||||||||||||||||||||||||||||
| Q29 | 鏈輪符合RoHS指令嗎? | |||||||||||||||||||||||||||||||||||||||||||||||||||||||||||
| A29 |
本公司鏈輪全部符合RoHS指令。需要證明書的情況下,請通過購買該商品的銷售店委托發行。 ※RoHS指令可能會被修改。 |
|||||||||||||||||||||||||||||||||||||||||||||||||||||||||||
| Q30 | 可否依提供的鏈輪照片特定規格? | |||||||||||||||||||||||||||||||||||||||||||||||||||||||||||
| A30 |
僅憑外觀無法確定,所以無法通過照片確定規格。 抱歉,但敝公司無法對應。 |
|||||||||||||||||||||||||||||||||||||||||||||||||||||||||||
| Q31 | 可否依照提供的鏈輪實物,製作相同的鏈輪? | |||||||||||||||||||||||||||||||||||||||||||||||||||||||||||
| A31 |
我們可以通過報價請求幫助您確定規格。 但是,即使確認了現貨,也有不能確定規格的情況。 另外,即使回復了報價,也不承擔關於規格的責任,敬請諒解。 如果是使用品的話,因為沒有固定新品的形狀,所以很難確定詳細的尺寸規格,如果疼痛劇烈的話,有時甚至無法確定大衹的規格。 材料方面也有無法確定的情況。 規格的最終決定請參考本公司的見解由客戶決定。 |
|||||||||||||||||||||||||||||||||||||||||||||||||||||||||||
| Q32 | 請告訴我鏈輪保管中要註意的事情。 | |||||||||||||||||||||||||||||||||||||||||||||||||||||||||||
| A32 |
請勿在灰塵、灰塵、直接接觸雨水的地方、高溫、凍結、腐蝕環境下存放。 為了防止生銹,請用刷子塗油。 特別是無塗層的產品,或即使有塗層但軸孔未實施塗層處理的地方需額外注意。 |
|||||||||||||||||||||||||||||||||||||||||||||||||||||||||||
| Q33 | 潤滑脂作為鏈輪驅動潤滑有效果嗎? | |||||||||||||||||||||||||||||||||||||||||||||||||||||||||||
| A33 |
鏈輪與鏈條的嚙合部在低速、高負荷時塗潤滑脂可能有效。 但是,在灰塵較多的地方,可能會吸附灰塵並使其粘在一起,加速磨損。 另外,為了抑制鏈條的磨損伸長,向銷和軸套之間加油很重要。 為了防止加到鏈條中的油因外界因素 (風雨等) 而流出,有時也會塗上潤滑脂,但相反,如果潤滑脂妨礙向鏈條銷與套筒之間供油,則可能會降低供油效果,請充分考慮。 |
|||||||||||||||||||||||||||||||||||||||||||||||||||||||||||
| Q34 | 鏈子磨損了,打算換新的。鏈輪的外觀很漂亮,所以我想知道能不能直接使用。 | |||||||||||||||||||||||||||||||||||||||||||||||||||||||||||
| A34 |
外觀的漂亮程度無法判斷鏈輪的磨損。 就像鏈條一樣,鏈輪也會磨損,因此請在做出決定之前,請按照產品目錄或使用使用說明書中所述的檢查方法,檢查是否有磨損等異常情況。 |
|||||||||||||||||||||||||||||||||||||||||||||||||||||||||||
| Q35 | 感覺鏈輪齒面的磨損很快。能想到什麽原因嗎? | |||||||||||||||||||||||||||||||||||||||||||||||||||||||||||
| A35 |
請參考下表了解鏈輪齒面(歯底和齒壓面)磨損的可能原因和治療方法。
|
|||||||||||||||||||||||||||||||||||||||||||||||||||||||||||
| Q36 | 鏈輪齒的側面磨損了。能想到什麽原因呢? | |||||||||||||||||||||||||||||||||||||||||||||||||||||||||||
| A36 |
下表總結了預想的原因和治療方法。 另外,也可以考慮鏈節板內側的磨損。鏈條也請一起檢查。
|
|||||||||||||||||||||||||||||||||||||||||||||||||||||||||||
| Q37 | 有時鏈條會移到鏈輪之上。是什麼原因? | |||||||||||||||||||||||||||||||||||||||||||||||||||||||||||
| A37 |
可能原因與處置方法總結於下表。 放置不管的話會導致鍊板過激的破壞 (圖2),所以請務必檢查並採取對策。
|
|||||||||||||||||||||||||||||||||||||||||||||||||||||||||||
| Q38 | 什麼是Checker's eye? | |||||||||||||||||||||||||||||||||||||||||||||||||||||||||||
| A38 |
チェッカーズアイは 取替お知らせマークです。 在齒部的磨損臨界點上做了標記,磨損到那個標記上的話,就判斷為使用界限的壽命。 具有以下優點。
一眼就能確認更換時間,可大幅減少檢查時間和工時。 即使沒有技能,任何人都可以準確地判斷壽命。 從觸手檢查到目視檢查。以最低限度的接觸提高檢查的安全性。 它安裝在大型输送鏈條的智慧智慧更換系列鏈輪和傳動鏈條的大型 RS 鏈輪上,但也可根據要求安裝在其他鏈輪上。 常規檢查
測量磨損區域和齒形規之間的間隙 Checker's eye檢查 一眼就能判斷鏈輪的更換時機。
|
|||||||||||||||||||||||||||||||||||||||||||||||||||||||||||
| Q39 | 有檢查簡單的鏈輪嗎? | |||||||||||||||||||||||||||||||||||||||||||||||||||||||||||
| A39 |
我們提供帶有Checker's eye(更換指示標記)的鏈輪,讓您一眼就能知道何時需要更換它們。 智慧更換系列鏈輪(分離式、環狀更換齒式、塊狀更換齒式)的標準配置,這些鏈輪需要頻繁更換。 帶有Checker's eye標準鏈輪被確認為塗有“椿本藍”色。 除了配備大型傳動鏈條外,還可依要求安裝其他輸送機鏈輪。 * Checker's eye:參見“Q38. 什麼是Checker's eye?”Checker's eye檢查 一眼就能判斷鏈輪的更換時機。
每180°放置2個
|
|||||||||||||||||||||||||||||||||||||||||||||||||||||||||||
| Q40 | 購入鏈輪時如何下訂單? 交貨期是多久? | |||||||||||||||||||||||||||||||||||||||||||||||||||||||||||
| A40 |
本公司不進行直接銷售,請向有業務往來的代理店、銷售店咨詢。 請您就交貨期與我們聯絡。 |
|||||||||||||||||||||||||||||||||||||||||||||||||||||||||||
| Q41 | 傳動鏈條的齒形標準是什麼? | |||||||||||||||||||||||||||||||||||||||||||||||||||||||||||
| A41 |
椿本RS鏈輪的齒形採用了JIS規格的S齒形。(一部分也並用了JIS規格的U齒形。) 其他選項包括 BS 齒形和用於重負荷鏈條和銷齒輪的特殊齒形。 |
|||||||||||||||||||||||||||||||||||||||||||||||||||||||||||
| Q42 | 鏈輪選型時需要計算輪齒的強度嗎? | |||||||||||||||||||||||||||||||||||||||||||||||||||||||||||
| A42 |
一般情況下,輪齒強度若小於最大容許張力,輪齒不會彎曲或斷裂。請從商品目錄中選擇。 但是,需要考慮強力型鏈條,請同時確認專用鏈輪。 計算上由於卷繞傳動中各齒的張力分佈很復雜,所以以1齒計算,但實際上卷繞傳動中,由於是由幾齒分擔鏈條張力,所以鏈條的張力不會只由1齒承受。 牙齒負荷分擔
|
|||||||||||||||||||||||||||||||||||||||||||||||||||||||||||
| Q43 | 傳動鏈條何時需要進行「齒頂硬化處理」? 判斷目錄中的產品是否「有硬化齒頂」或「沒有硬化齒頂」的理由是什麼? |
|||||||||||||||||||||||||||||||||||||||||||||||||||||||||||
| A43 |
對於傳動鏈條對符合以下使用條件的鏈輪進行齒頂硬化處理。
返回到問題
|
|||||||||||||||||||||||||||||||||||||||||||||||||||||||||||
| Q44 | 鏈輪的壽命哪個廠家都一樣嗎? | |||||||||||||||||||||||||||||||||||||||||||||||||||||||||||
| A44 |
這取決於製造商。齒輪的壽命主要取決於齒的磨損,但我們公司採用一種名為「齒頂硬化處理」的工藝,著重於提高耐磨性。 這是標準的高週波熱處理,但與其他公司相比,更深更均勻的熱處理使得長時間使用後牙齒磨損更少。 “硬化處理”是山茶花產品的優勢。請考慮一下在耐磨性方面具有優勢的椿本鏈輪。
齒頂硬化處理的橫斷面對比(齒頂變色區 域為硬化層)
|
|||||||||||||||||||||||||||||||||||||||||||||||||||||||||||
| Q45 | 請告訴我鏈輪可以使用的溫度範圍。 | |||||||||||||||||||||||||||||||||||||||||||||||||||||||||||
| A45 |
RS鏈輪的使用溫度範圍為-10°C~150°C, RS鏈輪不鏽鋼規格的使用溫度範圍為-20°C~400°C。 不僅要考慮溫度引起的強度變化,還要考慮鏈條潤滑的限制。 |
|||||||||||||||||||||||||||||||||||||||||||||||||||||||||||
| Q46 | 在低溫(低於-10°C)環境下,如果使用耐寒傳動鏈條我可以使用普通的標準RS鏈輪嗎? | |||||||||||||||||||||||||||||||||||||||||||||||||||||||||||
| A46 |
商品目錄中記載的標準鏈輪使用機械構造用碳素鋼或軋鋼,在-10°C以下的低溫下使用時,會發生強度降低,因此不推薦使用。 有時也可以通過變更為按訂單生產品材質的特殊鏈輪等提出對策。 如果產品的使用溫度範圍在產品目錄中未列出,請與我們聯係。 |
|||||||||||||||||||||||||||||||||||||||||||||||||||||||||||
| Q47 | 我可以使用標準的RS鏈輪搭配強力傳動鏈條嗎? | |||||||||||||||||||||||||||||||||||||||||||||||||||||||||||
| A47 |
可以使用硬化齒頂的標準鏈輪,但在許多情況下,關鍵表面壓力不足。 我們推薦使用「TOUGH TOOTH」作為強力傳動鏈條鏈輪,請您考慮一下。 鏈條越強力,關鍵表面壓力等的檢查就越重要。 雖然可以透過使用雙鍵或加長輪轂來增加表面壓力,但從節省空間和價格的角度來看,我們推薦使用輪轂更堅固的「TOUGH TOOTH」。 此外,當使用多列H 級鏈條(如 HT強力鏈條或超級H鏈條時,齒的橫向節距不同,不能使用標準的 RS 鏈輪。 |
|||||||||||||||||||||||||||||||||||||||||||||||||||||||||||
| Q48 | BS規格鏈可以使用標準RS鏈輪嗎? | |||||||||||||||||||||||||||||||||||||||||||||||||||||||||||
| A48 |
與JIS規格品的RS鏈輪基本3尺寸 (節距、滾子直徑、滾子鏈節內寬) 不同,因此不能使用。 對於符合 BS 標準的鏈條,我們提供符合BS/DIN規格專用鏈輪。 |
|||||||||||||||||||||||||||||||||||||||||||||||||||||||||||
| Q49 | 針齒輪可以使用標準RS鏈輪嗎? | |||||||||||||||||||||||||||||||||||||||||||||||||||||||||||
| A49 |
需要特殊齒形的專用鏈輪。 由於與鏈條的嚙合與纏繞傳動不同,因此無法使用標準RS鏈輪。 要使物體沿著直線或旋轉方向運動,通常使用滾輪鍊和齒輪,透過減速機從驅動源(例如馬達)傳遞動力。 使用滾子鏈的卷繞傳動面臨空間大、齒輪需要精密加工、成本高等問題。 在這種情況下,銷齒輪驅動是最好的。 如圖 1 所示,銷齒輪傳動使用鏈條,鏈條上帶有銷齒輪附件,纏繞在滾筒或工作台的外周上,而不是使用齒輪;並且使用具有特殊齒形的鏈輪(銷齒輪鏈輪)而不是小齒輪。 對於直線運動,如圖 2 所示,以銷附件鏈條取代齒條沿直線安裝。 提供銷齒傳動組件,包括銷齒,齒輪與銷齒條。
[圖1]
[圖2] |
|||||||||||||||||||||||||||||||||||||||||||||||||||||||||||
| Q50 | 可以制作鏈條張緊器嗎? | |||||||||||||||||||||||||||||||||||||||||||||||||||||||||||
| A50 |
本公司標準化準備了張緊器和惰輪。請根據本公司的規格進行探討。 |
|||||||||||||||||||||||||||||||||||||||||||||||||||||||||||
| Q51 | 鏈輪轉動不均的原因和對策是什麽? | |||||||||||||||||||||||||||||||||||||||||||||||||||||||||||
| A51 |
旋轉不均的原因之一是鏈條的速度變動。鏈條相對於鏈輪呈多角形嚙合。 因此,如下圖所示,在圓的切線位置嚙合時和在絃的位置嚙合時,嚙合的高度 (與鏈輪中心的半徑) 不同。 因此,即使驅動鏈輪勻速旋轉,鏈的行進速度也會以半徑比變化。其速度變動率通過下式計算。 變化率= (V2-V1) /V2=1-cos (180°/Z) (Z表示齒數) 齒數越多,旋轉越順滑,傳動越順暢。敝公司一般推薦齒數在15以上。 V2鏈最大速度 V1鏈速度最小
<迴轉不均> 由於鏈條的速度變化和鏈輪的性質,從動鏈輪會產生旋轉不均。 另外,還會受到鏈輪偏心安裝誤差、鏈條及鏈輪制作誤差的影響。 驅動鏈輪齒數越大 (直徑越大),傳動越平穩,旋轉不均勻性越小。 |
|||||||||||||||||||||||||||||||||||||||||||||||||||||||||||
| Q52 | 傳動鏈條在震動。會不會是鏈輪的問題?有什麼辦法可以解決嗎? | |||||||||||||||||||||||||||||||||||||||||||||||||||||||||||
| A52 |
鏈輪也可能是原因。原因和對策如下。 多邊形運動 當涉及弦狀運動 (鏈輪和鏈多角形運動的上下運動) 時,可以通過選擇盡可能大的齒數來抑制多角形運動。一般推薦齒數在15顆以上。 ※弦狀運動:請參見「Q51.鏈輪轉動不均的原因和對策是什麽?」。 |
|||||||||||||||||||||||||||||||||||||||||||||||||||||||||||
| Q53 | 傳動鏈用RS鏈輪的適當的速度比與包角是多少? | |||||||||||||||||||||||||||||||||||||||||||||||||||||||||||
| A53 |
滾子鏈條傳動的速比一般以7:1為宜。只有在極低速的情況下,可以達到10:1左右。
|
|||||||||||||||||||||||||||||||||||||||||||||||||||||||||||
| Q54 | 用於傳動鏈條RS鏈輪的合適鏈輪中心距是多少? | |||||||||||||||||||||||||||||||||||||||||||||||||||||||||||
| A54 |
最短距離只要兩個鏈輪的牙齒不接觸就可以。理想情況下,兩個軸的中心距離應為所用滾子鏈間距的30~50倍。但是,施加變動負荷時,以20倍以下為宜。 滾子鏈節距的30~50倍
|
|||||||||||||||||||||||||||||||||||||||||||||||||||||||||||
| Q55 | RS鏈輪用於傳動鏈條的佈局有什麼規則嗎? | |||||||||||||||||||||||||||||||||||||||||||||||||||||||||||
| A55 |
一般滾子鏈條傳動配置如下。
|
|||||||||||||||||||||||||||||||||||||||||||||||||||||||||||
| Q56 | 使用 RS 鏈輪作為傳動鏈條時,是否有任何佈局或位置需要特別注意? | |||||||||||||||||||||||||||||||||||||||||||||||||||||||||||
| A56 |
在以下情況下,請註意佈局和安排。請使用惰輪張緊器。
圖1) 中心距離短時的佈局
圖2) 中心距離較長時的佈局
圖3) 垂直傳動 |
|||||||||||||||||||||||||||||||||||||||||||||||||||||||||||
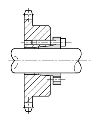
| Q57 | RS鏈輪用於傳動鏈條的安裝精度和安裝步驟是什麼? | |||||||||||||||||||||||||||||||||||||||||||||||||||||||||||
| A57 |
安裝時請註意水平度、平行度,按照以下要領正確進行。
圖1) 軸的水平度
圖2) 軸的平行度
圖3) 鏈輪的錯位 |
|||||||||||||||||||||||||||||||||||||||||||||||||||||||||||
| Q58 | 傳動鏈用RS鏈輪的使用壽命如何?點檢的要點是什麼? | |||||||||||||||||||||||||||||||||||||||||||||||||||||||||||
| A58 |
壽命和更換的標準是確認牙齒的磨損。鏈輪會因牙齒磨損而降低強度,給鏈條傳動帶來不良影響。 請在定期檢查出現問題之前更換新的鏈輪。確認要點如下。
為了減少檢查工時並提高安全性,我們可以製造帶有Checker's eye鏈輪,以指示何時需要更換它們。 齒厚的使用界限·B尺寸表
|
|||||||||||||||||||||||||||||||||||||||||||||||||||||||||||
| Q59 | RS鏈輪傳動鏈條安裝不當的症狀有哪些?我應該檢查哪些方面? | |||||||||||||||||||||||||||||||||||||||||||||||||||||||||||
| A59 |
【癥狀】 出現以下癥狀時,請再次確認鏈輪及其安裝。
【檢查要點】 從鏈輪的咬合檢查可以判斷原因。 不正常時請再次檢查、修正。
異常的原因是鏈輪安裝不良或滾子鏈扭曲等。 發現異常時,直接使用鏈輪會對滾子鏈傳動產生不良影響,請更換新的鏈輪。 |
|||||||||||||||||||||||||||||||||||||||||||||||||||||||||||
| Q60 | 傳動鏈用RS鏈輪是否可以用於雙倍節S滾輪? | |||||||||||||||||||||||||||||||||||||||||||||||||||||||||||
| A60 |
雙節距S 滾輪不能與齒數 29 或更少的 RS 鏈輪一起使用;必須使用雙節距鏈輪。 用於傳動鏈條。 (這是因為節距圓直徑(PCD)是30齒或以上鏈輪的近似值。) 另外,由於橫節距不同,多列RF2060以上的尺寸不可使用。由於這些鏈條屬於特型品,可根據鏈條圖紙製作對應的特型鏈輪。 |
|||||||||||||||||||||||||||||||||||||||||||||||||||||||||||
| Q61 | RS型傳動鏈條鏈輪能否用於小型輸送鏈條? | |||||||||||||||||||||||||||||||||||||||||||||||||||||||||||
| A61 |
RS型傳動鏈條鏈輪可與RS型小型輸送機配件鏈搭配使用。 但請注意,如果鏈輪直徑較小或附件特殊,則需要考慮與鏈輪的干涉問題。 對於雙節雙節距,請使用雙節距鏈輪。 但是,如果使用雙節距S 滾子,且齒數為 30 或以上,則可以使用 RS 鏈輪。 |
|||||||||||||||||||||||||||||||||||||||||||||||||||||||||||
| Q62 | 為什麼專為雙節距(S 型滾輪)設計的雙節距鏈輪建議使用奇數齒? | |||||||||||||||||||||||||||||||||||||||||||||||||||||||||||
| A62 |
對於 S 型滾子,建議使用奇數實際歯數,因為這樣可以提高耐磨壽命。 在雙節距鏈輪中,實際嚙合的齒數稱為作用歯數,而可見的齒數稱為實際歯數。鏈條是S滾子型的情況下,鏈條以1齒跳躍嚙合。(圖1) 當S型滾子的實際歯數為奇數時(見圖3),滾輪在第一圈旋轉時會與1到10號齒嚙合,隔一個齒嚙合一次;但從第二圈開始,它們會與11號齒嚙合,與前一圈不同的齒。由於滾輪在鏈輪每圈旋轉時都與不同的齒嚙合,因此磨損更小,滾輪的使用壽命更長。 對於 R 型滾子,每個齒都會嚙合(圖 2)。 返回到問題 |
|||||||||||||||||||||||||||||||||||||||||||||||||||||||||||
| Q63 | 我使用的是空心銷雙節距。我可以使用哪種鏈輪? | |||||||||||||||||||||||||||||||||||||||||||||||||||||||||||
| A63 |
與標準 RF 雙節距一樣,當齒數為 30 或以上時,可以使用 RS 鏈輪作為傳動鏈條。 它不能與 29 齒或更少的鏈輪一起使用,因此需要雙節距鏈輪。 由於橫節距不同,多列RF2060以上的尺寸不可使用。由於這些鏈條屬於特型品,可根據鏈條圖紙製作對應的特型鏈輪。 |
|||||||||||||||||||||||||||||||||||||||||||||||||||||||||||
| Q64 | 小型輸送鏈條的安裝精度和安裝步驟是什麼? | |||||||||||||||||||||||||||||||||||||||||||||||||||||||||||
| A64 |
安裝時請註意水平度、平行度,按照以下要領正確進行。
|
|||||||||||||||||||||||||||||||||||||||||||||||||||||||||||
| Q65 | 小型輸送鏈條用雙節距鏈輪的使用壽命何時終止?需要重點檢查哪些方面? | |||||||||||||||||||||||||||||||||||||||||||||||||||||||||||
| A65 |
圖2鏈輪齒磨損
圖3鏈輪齒磨損 (側面) |
|||||||||||||||||||||||||||||||||||||||||||||||||||||||||||
| Q66 | 大型输送鏈條用鏈輪至少需要多少個齒? | |||||||||||||||||||||||||||||||||||||||||||||||||||||||||||
| A66 |
考慮到鏈條的懸掛,需要6顆以上的齒數。 |
|||||||||||||||||||||||||||||||||||||||||||||||||||||||||||
| Q67 | 關於大型输送鏈條用鏈輪,是否可以製造沒有輪轂的A型鏈輪? | |||||||||||||||||||||||||||||||||||||||||||||||||||||||||||
| A67 |
可以,但是因為是接受按訂單生產品,所以請報價。 以焊接為前提的情況下,根據材料不同,有時會導衹不良。 |
|||||||||||||||||||||||||||||||||||||||||||||||||||||||||||
| Q68 | 大型输送鏈條用鏈輪有掛孔嗎? | |||||||||||||||||||||||||||||||||||||||||||||||||||||||||||
| A68 |
有吊孔設定的可以在商品目錄上確認。 設定有吊孔的產品,除鏈輪本體尺寸表外,還在吊孔尺寸一覽表中標明了吊孔尺寸和吊孔數量。 沒有登載的型號、齒數的鏈輪沒有懸掛用的孔。 您要求的時候,我們會在制作討論的基礎上進行估價,所以請您告訴我具體的位置和大小、數量。 |
|||||||||||||||||||||||||||||||||||||||||||||||||||||||||||
| Q69 | 大型输送鏈條用鏈輪的安裝精度和安裝步驟是什麼? | |||||||||||||||||||||||||||||||||||||||||||||||||||||||||||
| A69 |
安裝時請註意水平度、平行度,按照以下要領正確進行。
※從傳送鏈本身來看,安裝精度是一般值。如果輸送機本身的精度有限制,請以此為準。 |
|||||||||||||||||||||||||||||||||||||||||||||||||||||||||||
| Q70 | 大型输送鏈條用鏈輪何時達到使用壽命終點?關鍵檢查點有哪些? | |||||||||||||||||||||||||||||||||||||||||||||||||||||||||||
| A70 |
鏈輪齒面的磨損極限請以圖1為基準。根據尺寸等,壽命為3~6mm。 如果鏈條與磨損的鏈輪嚙合,會造成鏈條過早磨損等不良後果。如果鏈輪齒磨損,請更換鏈輪。 鏈輪的牙齒側面磨損時,請參照表1針對原因進行處理。 我們可以生產帶有Checker's eye鏈輪,指示器會在鏈輪需要更換時發出指示,從而減少檢查時間並提高安全性。
|
|||||||||||||||||||||||||||||||||||||||||||||||||||||||||||











