技術資料小型輸送鏈條選擇
如果您想查看選擇程序和註意事項,請轉到以下步驟。
如果您希望縮小產品系列範圍或進行初步選擇,
單擊此處。
如果您已經決定了使用條件並希望進行詳細的選擇,
單擊此處。
小型輸送鏈條選擇程序
根據輸送機的種類和容量,選擇適當的鏈條尺寸和形式。根據輸送機的使用條件會有各種情況,有時也不能一概而論,但一般按以下步驟進行。
1.確認交貨條件

2.連鎖品種的暫定

3. 檢查滾筒和附件的允許載重。

4.計算作用在鏈上的最大張力

5.確定鏈大小

6.間歇運轉時的鏈條選擇法
步驟1.確認交貨條件
- 1.輸送機類型(板條輸送機、鬥式輸送機等)
- 2.運輸方向(水平、傾斜、垂直運輸)
- 3.搬運物的種類、品質和尺寸
- 4.交貨數量、交貨間隔
- 5.輸送機速度
- 6.輸送機長度
- 7.有無潤滑
- 8.運輸環境(溫度、腐蝕因素)
步驟2.鏈條品種的臨時決定
查找作用在鏈上的最大靜態張力 (F) 。
SI單位F (kN) =W×f 1 ×K V × G 1000
重力單位F{kgf}=W×f 1 ×K V
W = 傳送帶上搬運物總質量 {重量} kg {kgf}
f 1 =摩擦係數 (表3) K V =速度係數 (表4)
G = 9.80665m/s2
F(或當鏈平行時為 F × 0.6)或更多最大容許張力有
鏈條的類型和尺寸將暫定確定。
小型輸送鏈條(不包括不鏽鋼鍊和工程塑膠鏈)的最大容許張力設定為疲勞極限。
如果負載低於此值,即使重複施加負載,小型輸送鏈條也不會斷裂。
*不鏽鋼和工程塑膠。最大容許張力是根據銷和套筒之間的表面壓力確定的,同時考慮耐磨性能。
步驟3.確認允許負荷
負載式輸送機中作用在滾筒或附件上的負載應小於表 1 和表 2 中的數值。
表1本體滾子的容許負荷
| 尺寸 | 雙節距 RS型附附件(標準規格) Lambda/長壽命 Lambda |
不鏽鋼滾子 (SS, AS) |
塑膠滾子 | 塑膠滾子 KV規格 |
低噪音 塑膠滾子 |
塑鋼鏈條 | |||
|---|---|---|---|---|---|---|---|---|---|
| R滾子 | S滾子 | R滾子 | S滾子 | R滾子 | S滾子 | R滾子 | R滾子 | ||
| RS25 | - | - | - | - | - | - | - | - | 0.005 {0.5} |
| RS35 | - | - | - | - | - | - | - | - | 0.015 {1.5} |
| RF2040・RS40 | 0.64 {65} | 0.15 {15} | 0.20 {20} | 0.05 {5} | 0.20 {20} | 0.02 {2} | 0.20 {20} | 0.14 {14} | 0.02 {2.0} |
| RF2050・RS50 | 0.98 {100} | 0.20 {20} | 0.29 {30} | 0.06 {6} | 0.29 {30} | 0.03 {3} | 0.29 {30} | 0.21 {21} | 0.04 {4.0} |
| RF2060・RS60 | 1.57 {160} | 0.29 {30} | 0.49 {50} | 0.09 {9} | 0.49 {50} | 0.05 {5} | 0.49 {50} | 0.34 {35} | 0.06 {6.0} |
| RF2080・RS80 | 2.65 {270} | 0.54 {55} | 0.78 {80} | 0.15 {15} | 0.88 {90} | 0.09 {9} | - | 0.62 {63} | - |
| RF2100・RS100 | 3.92 {400} | 0.78 {80} | 1.18 {120} | 0.25 {25} | 1.27 {130} | - | - | - | - |
| RF2120・RS120 | 5.88 {600} | 1.18 {120} | 1.77 {180} | 0.34 {35} | - | - | - | - | - |
| RS140 | - | 1.32 {135} | - | 0.39 {40} | - | - | - | - | - |
| RF2160・RS160 | 9.61 {980} | 1.91 {195} | 2.75 {280} | 0.54 {55} | - | - | - | - | - |
註)
- 1. 數值為潤滑後的值。附附件的雙節距和 RS 型鏈條包括耐環境鏈條(NP 和NEP規格)。
- 2. 對於塑鋼鏈條,每件允許的載重是內鏈節的下側支撐時。
- 3. 對於標準規格R 型滾輪的導軌材料,應使用 S45C 或更高抗拉強度的材料。
- 4. 有關滾針套筒鏈條和滾針籠架鏈條的信息,請參閱產品資訊頁面。
本體滾子的容許負荷
表 2附件A 的允許載重
這是 A 型附件能夠承受的垂直載重。
根據您安裝的附件的形狀和結構,附件A 上可能會產生扭力。如果發生這種情況,請與我們聯絡。
| 雙節距鏈條 | RS型鏈 | ||||
|---|---|---|---|---|---|
| 尺寸 | 雙節距1 | 不鏽鋼 | 尺寸 | 附件1 | 不鏽鋼 |
| RF2040 | 0.262 {26.7} | 0.108 {11.0} | RS25 | 0.028 {2.9} | 0.012 {1.2} |
| RF2050 | 0.455 {46.4} | 0.189 {19.3} | RS35 | 0.094 {9.6} | 0.036 {3.7} |
| RF2060 | 1.06 {108} | 0.419 {42.7} | RS40 | 0.130 {13.3} | 0.054 {5.5} |
| RF2080 | 1.67 {170} | 0.646 {65.9} | RS50 | 0.243 {24.8} | 0.101 {10.3} |
| RF2100 | 2.51 {256} | 1.15 {117} | RS60 | 0.376 {38.3} | 0.148 {15.1} |
| RF2120 | 3.68 {375} | 1.79 {183} | RS80 | 0.591 {60.3} | 0.233 {23.8} |
| RF2160 | 5.84 {596} | 3.13 {319} | RS100 | 0.933 {95.1} | 0.361 {36.8} |
| RS120 | 1.39 {142} | 0.629 {64.1} | |||
| RS140 | 1.82 {186} | 0.869 {88.6} | |||
| RS160 | 2.36 {241} | 1.19 {121} | |||
註)
- 1. 包括耐環境污染的鏈條(NP/ NEP規格)。
- 2. 有關滾針套筒鏈條和滾針籠架鏈條的信息,請參閱產品資訊頁面。
- ・附件A 可承受的垂直載重的作用點是附件安裝孔的位置。
- ・K型附件威力是A型附件的兩倍。
- ·請註意不要超過滾子的容許負荷。
步驟4.計算作用在鏈上的最大張力 (F)
目錄中同時列出了SI單位和重力單位。以重力單位計算最大張力時,“重量” (kgf) 等於“質量” (kg) 。
- F=作用在鏈上的最大靜態張力:kN{kgf}
- V=傳送速度 (鏈速度) :m/min
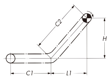
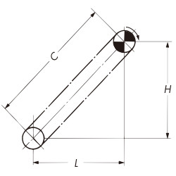
- H=鏈輪中心距離 (垂直方向) :m
- L=鏈輪中心距離 (水平方向) :m
- C=鏈輪中心距離:m
- M=運行部的質量{重量}:鏈條※、鏟鬥、圍裙等的質量{重量}:kg/m{kgf/m}
- W = 輸送帶上搬運物的最大總質量(重量):kg(kgf)
對於散裝物品:W = C 裝載間隔 ×搬運物重量 - kW=動力要求
- f 1 = 鏈條與導軌之間的摩擦係數(表 3)
- η=驅動部分的傳動機械效率
- G =重力加速度:9.80665m/s 2
※兩條鏈子並列使用時,鏈子重量為兩條。
*如果經常進行正向和反向操作,鏈條需要透過收緊裝置進行收緊,因此計算公式將與下面的公式不同。
如果您要透過收緊裝置來消除鏈條中的鬆弛,請使用此處 Q&A6 中的計算公式。
表3-1 f 1:本體鏈條的滾子在導軌上滾動時的摩擦係數
| 滾子 分類 |
鋼輥 | Lambda 鏈條 |
塑膠滾子壓注塑 | 低噪音 塑膠滾子 |
針套 鏈條 |
|
|---|---|---|---|---|---|---|
| 潤滑 (無) | 潤滑 (有) | 潤滑 (無) | 潤滑 (無) | |||
| R滾子 | 0.12 | 0.08 | 0.08 | 0.08 | 0.1 | 0.21 |
| S滾子 | 0.21 | 0.14 | 0.14 | - | - | - |
註)塑膠滾子包含 KV 規格。
表3-2 f 1:鏈板在導軌上滑動時的摩擦係數
| 鋼板 | 塑鋼鏈條 | |
|---|---|---|
| 潤滑 (無) | 潤滑 (有) | |
| 0.3 | 0.2 | 0.25 |
計算公式
| SI單位 | {重力單位} |
|---|---|
|
水平交貨 攜帶搬運物時 F = (W + 2.1 × M × C) × f1 × G 1000 kW = F × V 6120 × 1 η
F = (W + 2.1 × M × C) × f1 kW = F × V 6120 × 1 η |
|
|
垂直傳送 F = (W + M × C) × G 1000 kW = W × V 60 × G 1000 × 1 η
F = W + M × C kW = W × V 6120 × 1 η |
|
|
傾斜搬運※ 攜帶搬運物時
F = (W + M × C) L × f1 + H C + 1.1 × M × (L × f1 - H) × G 1000 kW = V 60 F - M × (H - L × f1) G 1000 × 1 η F = (W + M × C) L × f1 + H C + 1.1 × M × (L × f1 - H) kW = V 6120 F - M × (H - L × f1) × 1 η 註)在標有星號的 F 公式中,如果 L × f1- H < 0,則 L × f1- H = 0。此外,在 kW 公式中,如果 H - L × f1 < 0,則 H - L × f1 = 0。 |
|
|
水平、傾斜搬運※ 攜帶搬運物時
F =
(
W
C1 + C2
+ 2.1 × M) C1 × f1+
(
W
C1 + C2
+ M) × (L1 × f1 + H)
kW = V 60 F - M × (H - L1 × f1) G 1000 × 1 η F =
(
W
C1 + C2
+ 2.1 × M) × C1 × f1+
(
W
C1 + C2
+ M) × (L1 × f1 + H)
kW = V 6120 F - M × (H - L1 × f1) × 1 η 註)在標有星號的 F 公式中,若 L 1 × f 1- H < 0,則 L 1 × f 1- H = 0。此外,在 kW 公式中,如果 HL 1 × f 1 < 0,則 H - L 1 × f 1 = 0。 |
|
步驟5.確定鏈尺寸
作用在鏈條上的最大張力 (F) 乘以表4中的速度係數 (K V),選擇滿足下式的鏈條。
F × K V ≦最大容許張力
表4速度係數 (K V)
| 鏈速度m/min | 速度因數 (Kv) |
|---|---|
| 15以下 | 1.0 |
| 15~30 | 1.2 |
| 30~50 | 1.4 |
| 50~70 | 1.6 |
| 70~90 | 2.2 |
| 90~110 | 2.8 |
| 110~120 | 3.2 |
下列鏈的建議速度如下:。
|
30m/min以下 |
|
70m/min以下 |
表5:小型輸送鏈條強度(單位:kN{kgf})
| 尺寸 | 通用鏈 | 免加油鏈條 長壽命免加油鏈條 |
|---|---|---|
| RF2040 | 2.65 {270} | 2.65 {270} |
| RF2050 | 4.31 {440} | 4.31 {440} |
| RF2060 | 6.28 {640} | 6.28 {640} |
| RF2080 | 10.7 {1090} | 10.7 {1090} |
| RF2100 | 17.1 {1740} | 17.1 {1740} |
| RF2120 | 23.9 {2440} | 23.9 {2440} |
| RF2160 | 40.9 {4170} | - |
| 尺寸 | 不鏽鋼雙節距 | 塗雙節距 | |||||
|---|---|---|---|---|---|---|---|
| SS規格 | HS规格 | AS規格 | NS規格 | LSK規格 | NP規格 | NEP規格 | |
| RF2040 | 0.69 {70} | 1.19 {121} | 0.69 {70} | 0.44 {45} | 0.44 {45} | 2.65 {270} | 2.65 {270} |
| RF2050 | 1.03 {105} | 1.85 {189} | 1.03 {105} | 0.69 {70} | 0.69 {70} | 4.31 {440} | 4.31 {440} |
| RF2060 | 1.57 {160} | 2.78 {283} | 1.57 {160} | 1.03 {105} | 1.03 {105} | 6.28 {640} | 6.28 {640} |
| RF2080 | 2.65 {270} | 4.77 {486} | 2.65 {270} | 1.77 {180} | - | 10.7 {1090} | 10.7 {1090} |
| RF2100 | 2.55 {260} | - | - | - | - | 17.1 {1740} | 17.1 {1740} |
| RF2120 | 3.82 {390} | - | - | - | - | 23.9 {2440} | - |
| RF2160 | 6.37 {650} | - | - | - | - | 40.9 {4170} | - |
| 尺寸 | 通用系列 | 低噪音系列 | 耐熱規格 | |||||
|---|---|---|---|---|---|---|---|---|
| 標準規格 | NP規格 | SS規格 | SP輥 | 標準規格 | NP規格 | SS規格 | ||
| RF2040 | 0.44 {45} | 0.44 {45} | 0.44 {45} | 0.23 {23} | 0.44 {45} | 0.44 {45} | 0.44 {45} | 0.44 {45} |
| RF2050 | 0.69 {70} | 0.69 {70} | 0.69 {70} | 0.34 {34} | 0.69 {70} | 0.69 {70} | 0.69 {70} | 0.69 {70} |
| RF2060 | 1.03 {105} | 1.03 {105} | 1.03 {105} | 0.54 {55} | 1.03 {105} | 1.03 {105} | 1.03 {105} | 1.03 {105} |
| RF2080 | 1.77 {180} | 1.77 {180} | 1.77 {180} | 0.88 {89} | 1.77 {180} | 1.77 {180} | 1.77 {180} | - |
| RF2100 | 2.55 {260} | 2.55 {260} | 2.55 {260} | - | - | - | - | - |
| 尺寸 | 通用規格 | LMC規格 | NP規格 | SS規格 |
|---|---|---|---|---|
| RF2040 | 1.77 {180} | 1.47 {150} | 1.77 {180} | 0.44 {45} |
| RF2050 | 3.14 {320} | 2.55 {260} | 3.14 {320} | 0.69 {70} |
| RF2060 | 4.22 {430} | 3.43 {350} | 4.22 {430} | 1.03 {105} |
| RF2080 | 7.65 {780} | 6.18 {630} | 7.65 {780} | 1.77 {180} |
| 尺寸 | 通用規格 |
|---|---|
| RF2040 | 1.86 {190} |
| RF2050 | 2.84 {290} |
| RF2060 | 4.02 {410} |
| RF2080 | 6.96 {710} |
間歇輸送鏈
| 尺寸 | 標準規格 | 高精度規格 | 不鏽鋼規格 |
|---|---|---|---|
| RF2040 | 0.78 {80} | 0.78 {80} | 0.44 {45} |
| RF2050 | 1.27 {130} | 1.27 {130} | 0.69 {70} |
| RF2060 | 1.77 {180} | 1.77 {180} | 1.03 {105} |
| RF2080 | 2.94 {300} | 2.94 {300} | 1.77 {180} |
| 尺寸 | 最大容許張力 |
|---|---|
| RF2040 | 0.45 {45} |
| RF2050 | 0.69 {70} |
| RF2060 | 1.03 {105} |
| RF2080 | 1.77 {180} |
| 尺寸 | 最大容許張力 |
|---|---|
| BCM12.5-9 | 0.3 {30} |
| BCM15-9 | 0.3 {30} |
| 尺寸 | 最大容許張力 |
|---|---|
| BC050 | 0.49 {50} |
| BC075 | 0.69 {70} |
| BC100 | 0.69 {70} |
| BC150 | 1.27 {130} |
| 尺寸 | 通用鏈 | 免加油鏈條 | 長壽命免加油鏈條 |
|---|---|---|---|
| RS25 | 0.64 {65} | - | - |
| RS35 | 1.52 {155} | 1.52 {155} | - |
| RS40 | 2.65 {270} | 2.65 {270} | 2.65 {270} |
| RS50 | 4.31 {440} | 4.31 {440} | 4.31 {440} |
| RS60 | 6.28 {640} | 6.28 {640} | 6.28 {640} |
| RS80 | 10.7 {1090} | 10.7 {1090} | 10.7 {1090} |
| RS100 | 17.1 {1740} | 17.1 {1740} | 17.1 {1740} |
| RS120 | 23.9 {2440} | 23.9 {2440} | - |
| RS140 | 32.4 {3300} | 32.4 {3300} | - |
| RS160 | 40.9 {4170} | - | - |
| 尺寸 | RS型附配件鏈條 | 塗層RS型附配件鏈條 | 塑鋼鏈條 | 塑膠滾子 鏈 |
|||||
|---|---|---|---|---|---|---|---|---|---|
| SS規格 | HS规格 | AS規格 | NS規格 | LSK規格 (不鏽鋼滾子) |
NP規格 | NEP規格 | SP輥 | ||
| RS25 | 0.12 {12} | - | - | 0.12 {12} | - | 0.64 {65} | - | 0.08 {8} | - |
| RS35 | 0.26 {27} | - | - | 0.26 {27} | - | 1.52 {155} | - | 0.18 {18} | - |
| RS40 | 0.69 {70} | 1.19 {121} | 0.69 {70} | 0.44 {45} | 0.44 {045} | 2.65 {270} | 2.65 {270} | 0.44 {45} | 0.23 {23} |
| RS50 | 1.03 {105} | 1.85 {189} | 1.03 {105} | 0.69 {70} | 0.69 {070} | 4.31 {440} | 4.31 {440} | 0.69 {70} | 0.34 {34} |
| RS60 | 1.57 {160} | 2.78 {283} | 1.57 {160} | 1.03 {105} | 1.03 {105} | 6.28 {640} | 6.28 {640} | 0.88 {90} | 0.54 {55} |
| RS80 | 2.65 {270} | 4.77 {486} | 2.65 {270} | 1.77 {180} | - | 10.7 {1090} | 10.7 {1090} | - | 0.88 {89} |
| RS100 | 3.82 {390} | - | - | - | - | 17.1 {1740} | 17.1 {1740} | - | - |
| RS120 | 3.82 {390} | - | - | - | - | 23.9 {2440} | - | - | - |
| RS140 | 4.61 {470} | - | - | - | - | 32.4 {3300} | - | - | - |
| RS160 | 6.37 {650} | - | - | - | - | 40.9 {4170} | - | - | - |
| 尺寸 | 通用規格 | Lambda規格 | NP規格 | SS規格 |
|---|---|---|---|---|
| RS40 | 1.77 {180} | 1.47 {150} | 1.77 {180} | 0.44 {45} |
| RS50 | 3.14 {320} | 2.55 {260} | 3.14 {320} | 0.69 {70} |
| RS60 | 4.22 {430} | 3.43 {350} | 4.22 {430} | 1.03 {105} |
| RS80 | 7.65 {780} | 6.18 {630} | 7.65 {780} | 1.77 {180} |
| 尺寸 | 通用規格 |
|---|---|
| RS40 | 1.86 {190} |
| RS50 | 2.84 {290} |
| RS60 | 4.02 {410} |
| RS80 | 6.96 {710} |
註)
- 1. SS規格和NS規格在出貨前未塗油。如果您要在水下或不會接觸到水的環境中使用產品,請務必在使用前塗上油。
- 2.在不加油的情況下使用時,鏈條有可能在早期發生彎曲不良。
- 3.最大容許張力是在有油潤滑條件下的數值(包括水潤滑)。
步驟6.間歇操作中鏈條的選擇方法
當使用鏈條進行間歇操作時,例如與分度裝置一起使用時,作用在鏈條上的張力不僅要考慮為一般的鏈條選擇因素(基於摩擦力的張力 F),還要考慮為由於慣性而產生的附加張力 F1。
附加張力F1通常由F1=mα計算。以這個公式為基礎說明計算步驟。
- m=從動側的總質量 (kg)
- α=最大加速度 (m/s 2)
| SI單位 | {重力單位} | ||||||||
|---|---|---|---|---|---|---|---|---|---|
|
|||||||||
|
1) 求從動側的總質量m。 m = W + M1 + 1 2 M2 註) 1 2 M 2:鏈輪慣性力的近似值,換算成鏈。 |
|||||||||
|
2) 通過F1=mα求出最大加速度α (m/s 2) 和慣性產生的附加張力。 例如,使用凸輪式索引裝置時,最大加速度α由
請使用與凸輪曲線相應的Am值。
詳情請洽分度製造商。 |
|||||||||
|
3) 計算基於慣性的附加張力的全作用張力F Σ。 FΣ = F + F1/1000 F:基於摩擦力的鏈張力 (kN) 3) 計算基於慣性的附加張力的全作用張力F Σ。 FΣ = F + F1/G F:基於摩擦力的鏈張力 (kN) G:重力加速度9.80665 (m/s 2) |
|||||||||
|
4) 確定鏈大小 F Σ Kv ≤最大容許張力 Kv:速度係數 (表4) |
|||||||||
|
5) 也請檢查鏈條的滾子容許負荷。 ×
(可以通過拖動來移動)
以潤滑狀態下使用為前提,是不會產生滾子旋轉不良的標準值。 |
|||||||||

