小型輸送鏈條簡易選擇工具
目標品種
通用小型輸送鏈條:
RF2□□□S/R,RS□□□
耐環境腐蝕的小型輸送鏈條:
RF2□□□S/R-SS、RF2□□□S/R-AS、RF2□□□S/R-NP、RF2□□□S/R-NEP
RS□□□-SS、RS□□□-AS、RS□□□-NP、RS□□□-NEP
RS□□-PC、RF2□□□RP、RF2□□□RP-SS、RF2□□□RP-NP
RF2□□□RPSN、RF2□□□RPSN-SS、RF2□□□RPSN-NP
免加油小型輸送鏈條:
RF2□□□S/R-LMC、RS□□□-LMC、RF2□□□S/R-LMCX、RS□□□-LMCX
特殊小型輸送鏈條:
RF20□□S/R-CU,RS□□-CU
間歇式輸送鏈:
RF20□□R-NB、RF20□□R-NBH、RF20□□R-NC
*1 對於上述未列出的產品,請填寫小型輸送鏈條詢價單,說明您的使用條件並提交產品詢價。
關於使用內容
- 在使用椿本産業用機械製品資訊網站小型輸送鏈條簡易選擇工具(以下簡稱「本工具」)之前,請務必閱讀以下使用注意事項和免責聲明,並且只有在您同意所有內容的情況下才能使用本工具。
- 如果您不同意,請不要使用此工具。
使用註意事項・免責聲明
選定計算 小型輸送鏈條
連鎖品種的初步選定
請選擇鏈規格。
類型
滾子式
規格_1
規格_2
規格_3
*如果您正在考慮使用不鏽鋼NS、不鏽鋼LSK或KF規格,
請聯絡以下諮詢台。
請輸入或選擇下述使用條件,按下臨時選定按鈕。
| 速度係數Kv | |
| 重力加速度 | 9.80665 |
| 摩擦係數f1 |
| 最大靜態張力kN |
|---|
| 尺寸 | |
|---|---|
| 最大容許張力kN | |
| 近似質量kg/m | |
| 螺距mm |
初步選定了人選。
請查看下方滾輪和附件的允許負載。
未找到滿足輸入條件張力的鏈。
檢查允許負載
滾子容許負荷
本值為輥套間有潤滑值。
| 尺寸和滾輪形式 | 滾子 容許負荷kN |
|---|
※RS25、RS35為軸承式,不帶滾子。如果打算使用的話,請到下面的咨詢窗口咨詢。
附件的允許載重
附件允許載重
| 尺寸 | 鋼 kN |
Sten 蕾絲 kN |
|---|---|---|
| RF2040 | 0.262 | 0.108 |
| RF2050 | 0.455 | 0.189 |
| RF2060 | 1.06 | 0.419 |
| RF2080 | 1.67 | 0.646 |
| RF2100 | 2.51 | 1.15 |
| RF2120 | 3.68 | 1.79 |
| RF2160 | 5.84 | 3.13 |
| 尺寸 | 鋼 kN |
Sten 蕾絲 kN |
|---|---|---|
| RS25 | 0.028 | 0.012 |
| RS35 | 0.094 | 0.036 |
| RS40 | 0.13 | 0.054 |
| RS50 | 0.243 | 0.101 |
| RS60 | 0.376 | 0.148 |
| RS80 | 0.591 | 0.233 |
| RS100 | 0.933 | 0.361 |
| RS120 | 1.39 | 0.629 |
| RS140 | 1.82 | 0.869 |
| RS160 | 2.36 | 1.19 |
| 尺寸 | 外套 托kN |
內前 托kN |
|---|---|---|
| RF2040R | 0.12 | 0.03 |
| RF2050R | 0.18 | 0.05 |
| RF2060R | 0.47 | 0.13 |
| RF2080R | 0.72 | 0.21 |
・附件A 可承受的垂直載重的作用點是附件安裝孔的位置。
・K型附件威力是A型附件的兩倍。
- 如需其他類型的附件,請與我們聯絡。

確保滾輪和附件上的負載低於上表中的值。
如果超過此值,則更換為能夠承受負載的鏈條尺寸,然後進行最終選擇。
計算作用在鏈上的最大張力 (F)
請選擇交貨形式。
請輸入或選擇下述使用條件,點擊選定實行按鈕。
| 類型 | |
|---|---|
| 滾子式 | |
| 規格_1 | |
| 規格_2 | |
| 規格_3 |
| 輸送速度V | |
|---|---|
| 搬運物總品質 W | |
| 導向係統 | |
| 輥套間潤滑 |
| 速度係數Kv | |
|---|---|
| 重力加速度 | 9.80665 |
| 摩擦係數f1 |
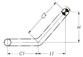
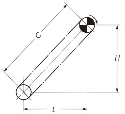
スプロケット中心距離(水平方向) L
m
スプロケット中心距離(垂直方向) H
m
スプロケット中心距離(傾斜搬送) C
m
スプロケット中心距離2(水平・傾斜搬送) C2
m
附件類型
附件安裝間隔
每個鏈節一個
每米夾具質量
法國面包、圍裙等
kg/m
PLEASE WAIT...
正式選定完成了。請確認以下選定結果。
臨時選定的型號張力不足。
請將臨時選定的鏈子尺寸變更為更大的鏈子尺寸,然後進行正式選定。
選定結果
| 平行/單列 | 作用張力kN (每支) |
品名 | 容許張力kN | 張力余量 | 滾子容許負荷 kN |
功率要求kW |
|---|---|---|---|---|---|---|
※RS25、RS35為軸承式,不帶滾子。如果打算使用的話,請到下面的咨詢窗口咨詢。
確保滾輪和附件上的負載低於允許值。
此計算結果為近似值。根據使用溫度、環境氛圍及其他條件,有可能無法使用,敬請諒解。
お問合せ先について
ホームページからのお問合せ
中国語でのお問い合わせは、つばきグループホームページの問合せページを開きます。
英語でのお問い合わせは、つばきグループホームページの問合せページを開きます。
