技術資料直線作動機高速千斤頂允許懸伸負載
容許過載
在輸入軸上安裝鏈輪、齒輪、傳動帶等時,請通過下式確認作用於軸的懸載是否在容許懸載以下。
容許O.H.L.≥ T×f×Lf R
O.H.L.:過載N
T:輸入扭矩N・m
f:傳動元件係數
Lf:負荷作用位置的係數
R:鏈輪、齒輪、V形皮帶輪等的節距圓半徑,單位為m。
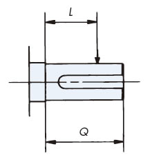
L:負荷的作用位置
Q:軸的長度
表2傳動要素係數 (f)
| 鏈條 | 1.00 |
|---|---|
| 齒輪帶 | 1.25 |
| V帶 | 1.50 |
| 平帶 | 2.50 |
表1輸入軸容許懸載
| SJ015H | SJ030H | SJ050H | |
|---|---|---|---|
| 容許O.H.L. (N) |
830 | 1280 | 1760 |
表3負荷作用位置的係數 (Lf)
| L/Q | 0.5以下 | 0.75 | 1 |
|---|---|---|---|
| Lf | 1 | 1.5 | 2 |
