技術資料驅動鏈輪

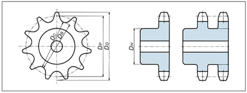
各部分名稱和尺寸通式

尺寸通式
  • D P =節距圓直徑
  • D O =標準外徑
  • D B =歯根円直径
  • D C =歯底距
  • D H =最大輪轂直徑和最大凹槽直徑
  • P =鏈節距
  • d l =滾子外徑
  • N =齒數
  • DP = P/sin 180°N
  • DO = P (0.6 + cot 180°N)
  • DB = DP - dl
  • D C =D B [對於偶數齒]
  • D C =D P cos 90°N-d l [對於奇數齒]
  • DH = P (cot 180°N - 1) - 0.76

齒形部規格

1.齒形

本公司的鏈輪齒形採用JIS規格的S齒形進行機械切齒。
部分並用JIS規格的U字形。

齒形

S齒形

齒形

U齒形

  • pa = p(1 + DS - dlDP)
  • DS = 2R = 1.005dl + 0.076
  • U = 0.07(p - dl) + 0.051
  • R = DS/2 = 0.5025dl + 0.038
  • A = 35° + 60°/N
  • B = 18° - 56°/N
  • ac = 0.8dl
  • Q = 0.8dl cos(35° + 60°/N)
  • T = 0.8dl sin(35° + 60°/N)
  • E = cy = 1.3025dl + 0.038
  • xy = (2.605dl + 0.076) sin(9° - 28°/N)
  • yz = dl[1.4 sin (17° - 64°/N) - 0.8 sin(18° - 56°/N)]
  • G=ab=1.4d l
    [點b位於線XY上的a點與線XY成180°/N的夾角的線上。]
  • K = 1.4d l cos180°/N
  • V = 1.4dl sin180°/N
  • F = dl [0.8 cos (18° - 56°/N)+ 1.4 cos(17° - 64°/N) - 1.3025] - 0.038
  • 計算公式

    [S齒形是U=0。]
  • S = pa2 cos180°/N + H sin180°/N
  • 齒頂變尖時的外徑 = pa cot180°/N + 2H
  • 最大壓力角=x a b=35°-120°/N
  • 最小壓力角=x a b-B=17°-64°/N
  • 平均壓力角=26°-92°/N

N = 齒數,d l = 滾子外徑,DP =節距圓直徑,p =鏈節距,pa = 齒距(S 齒廓為 a - a 1,U 齒廓為 e - e 1

2.齒部、寬度尺寸

齒部、寬度尺寸
尺寸 每列 t (最大) C
2排
以上
2列、3列 4列或更多
g
(參考)
h R
(最小)
1列 2列、3列 4列或更多 M2 M3 N M2 M3 M4 M5 M6 N
RS11 0.5 1.9 4.0 1.6 - - - - - - - - - - - -
RS15 0.6 2.4 5.1 2.0 - - - - - - - - - - - -
RS25 0.8 3.2 6.8 2.9 2.8 2.8 6.4 9.2 15.6 3.6 9.2 15.6 22.0 28.4 34.8 3.6
RS35 1.2 4.8 10.1 4.4 4.3 4.2 10.1 14.4 24.5 5.8 14.3 24.4 34.5 44.6 54.7 5.9
RS41 1.6 6.4 13.5 5.8 - - - - - - - - - - - -
RS40 1.6 6.4 13.5 7.3 7.1 7.0 14.4 21.5 35.9 7.3 21.4 35.8 50.2 64.6 79.0 7.4
RS50 2 7.9 16.9 8.9 8.7 8.6 18.1 26.8 44.9 9.4 26.7 44.8 62.9 81.0 99.1 9.5
RS60 2.4 9.5 20.3 11.9 11.7 11.4 22.8 34.5 57.3 11.1 34.2 57.0 79.8 102.6 125.4 11.4
RS80 3.2 12.7 27.0 15.0 14.6 14.3 29.3 43.9 73.2 14.7 43.6 72.9 102.2 131.5 160.8 15.0
RS100 4 15.9 33.8 18.0 17.6 17.2 35.8 53.4 89.2 18.2 53.0 88.8 124.6 160.4 196.2 18.6
RS120 4.7 19 40.5 24.0 23.5 23.0 45.4 68.9 114.3 21.9 68.4 113.8 159.2 204.6 250.0 22.4
RS140 5.5 22.2 47.3 24.0 23.5 23.0 48.9 72.4 121.3 25.4 71.9 120.8 169.7 218.6 267.5 25.9
RS160 6.3 25.4 54.0 30.0 29.3 28.7 58.5 87.8 146.3 29.2 87.2 145.7 204.2 262.7 321.2 29.8
RS180 7.1 28.6 60.8 33.7 33.0 32.3 65.8 98.8 164.6 32.8 98.1 163.9 229.7 295.5 361.3 33.5
RS200 8 31.8 67.5 36.0 35.2 34.4 71.6 106.8 178.4 36.4 106.0 177.6 249.2 320.8 392.4 37.2
RS240 9.5 38.1 81.0 45.0 44.0 43.1 87.8 131.8 219.6 43.8 130.9 218.7 306.5 394.3 482.1 44.7

鏈輪的最大輪轂直徑和一般的最大軸孔直徑

尺寸 RS25 RS35 RS40・41 RS50 RS60 RS80 RS100 RS120 RS140 RS160 RS180 RS200 RS240
鏈條
間距
6.35 9.525 12.70 15.875 19.05 25.40 31.75 38.10 44.45 50.80 57.15 63.50 76.20
齒數 輪轂
直徑
最大
軸孔
直徑
輪轂
直徑
最大
軸孔
直徑
輪轂
直徑
最大
軸孔
直徑
輪轂
直徑
最大
軸孔
直徑
輪轂
直徑
最大
軸孔
直徑
輪轂
直徑
最大
軸孔
直徑
輪轂
直徑
最大
軸孔
直徑
輪轂
直徑
最大
軸孔
直徑
輪轂
直徑
最大
軸孔
直徑
輪轂
直徑
最大
軸孔
直徑
輪轂
直徑
最大
軸孔
直徑
輪轂
直徑
最大
軸孔
直徑
輪轂
直徑
最大
軸孔
直徑
10 13 3.2 19 8.8 26 14 32 18 39 22 52 32 65 42 78 50 92 60 105 70 118 78 131 88 158 108
11 15 5.6 22 11 30 18 37 22 45 27 60 38 76 50 91 60 106 71 121 80 137 92 152 103 183 126
12 17 7.2 25 13 34 20 43 26 51 31 69 45 86 57 103 69 121 80 138 93 155 106 173 118 207 144
13 19 8.8 28 15 38 22 48 30 57 36 77 51 96 64 116 79 135 91 155 105 174 119 193 132 232 162
14 21 10 31 17 42 26 53 33 64 41 85 57 107 72 128 85 150 101 171 117 192 132 214 148 257 180
15 23 12 35 20 46 28 58 37 70 46 93 61 117 80 140 95 164 111 187 129 211 146 235 163 282 199
16 25 13 38 21 50 31 63 41 76 51 102 68 127 85 153 104 178 122 204 141 229 159 255 179 306 216
17 27 14 41 24 54 34 68 45 82 53 110 74 137 93 165 112 193 132 220 152 248 173 275 193 331 232
18 29 16 44 26 59 37 73 49 88 59 118 80 148 100 177 121 207 144 237 165 266 186 296 208 355 252
19 31 17 47 29 63 41 79 51 94 62 126 84 158 108 189 129 221 153 253 177 284 199 316 224 380 268
20 33 19 50 30 67 44 84 55 100 66 134 90 168 114 202 140 235 163 269 188 303 213 337 238 404 283
21 35 20 53 33 71 47 89 59 107 72 142 95 178 122 214 148 250 175 285 200 321 226 357 254 429 303
22 37 21 56 35 75 50 94 62 113 77 150 101 188 128 226 157 264 185 302 212 339 239 377 266 453 318
23 39 22 59 37 79 51 99 65 119 80 159 109 199 137 238 165 278 196 318 224 358 254 398 278 477 338
24 41 24 62 40 83 54 104 70 125 83 167 113 209 144 251 176 292 205 334 235 376 265 418 294 502 354
25 43 25 65 42 87 57 109 73 131 88 175 120 219 152 263 184 307 217 351 249 394 275 438 310 526 372

註)確定最大軸孔直徑時,請根據使用條件,通過一般機械設計確定輪轂的壁厚。
僅供參考,所示為一般情況下(鏈輪材質SS400、JIS鍵槽)的標準最大軸孔直徑。本表通過JIS的輪轂直徑計算公式求出。