技術資料聯軸器處理

ECHT-FLEX聯軸器NER 系列

本文介紹了ECHT-FLEX聯軸器一般操作方法。詳細資訊請參閱產品附帶的使用說明書。

1.在軸上安裝輪轂

註意事項

  • *1請對照使用說明書中的組件清單檢查聯軸器的組件。
  • ※2中心單元在工廠進行最佳組裝。請不要拆卸,直接使用。
  • ※3避免對中心單元施加過大的力,特別是在軸向。磁碟可能會以彎曲的狀態固定,從而影響性能。

安裝步驟

  • (1) 請確認驅動軸、從動軸、輪轂內徑是否有毛刺、傷痕、汙漬、生銹等,並擦拭灰塵和油分。
  • (2)將輪轂安裝到各根軸上。為了實現壓入配合,請用加熱的油(低於 150°C)均勻加熱輪轂,然後迅速將其安裝到軸上的指定位置。
  • (3) 輪轂的法蘭面間距尺寸請參照下一節「2.對中 (1) 法蘭面間尺寸 (J) 的調整」。

2.用心

聯軸器的初始定心精度越高,使用過程中產生的偏心旋轉應力就越小。

軸承磨損、安裝面沉降、溫度變化引起的狀況變化、振動引起的使用變化等都會縮短設備和聯軸器的使用壽命。

請定期按照以下步驟進行調整:。

心出し

聯軸器的法蘭面尺寸誤差、允許的角度偏差和偏心率是相互關聯的,當一個增大時,另一個就會減小,因此必須同時考慮它們。

請在下面的推薦值以下,首先確保用心。

(1) 調整法蘭面間尺寸 (J)

測量中心單元的總長度,並將其值作為J尺寸。
(根據零件公差的組合,中心單元的總長度可能比公稱值長或短。在這種情況下,即使將輪轂設置在圖紙基準尺寸J±0.5mm以內,也有可能難以裝入中央單元。)

每隔90度測量4處J尺寸,調整輪轂位置使其平均值在J±0.5mm以內。驅動軸、從動軸為階梯軸時,調整厚度可能會受到限制,因此請事先註意J尺寸可調整。

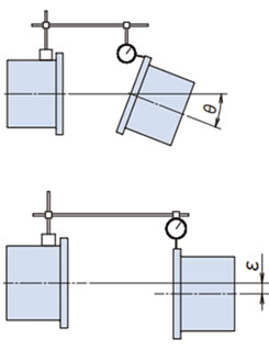
(2) 調整偏角 (θ)

  • (a)如圖所示,將千分表固定在單側輪轂上,然後旋轉輪轂找到千分表的最小讀數並將其設置為零。
  • (b)將撥號盤側的輪轂旋轉360度,讀取偏轉角數值。
  • (c)用墊片等移動設備進行調整,使千分表的讀數在表1的偏角推薦值範圍內。
偏角(θ)の調整

(3) 偏心 (ε) 調整

  • (a)如圖所示,將千分表安裝到輪轂法蘭上,然後旋轉輪轂以找到千分表的最小讀數並將其設置為零。
  • (b)將用千分表固定的輪轂旋轉360度,讀取偏心值。
  • (c)輪轂外周部分的顫動,有時會在輪轂的槽孔部分發生異常顫動。這是因為加工槽孔部分時,法蘭向外周方向膨脹,因此讀取時請避開該部分。
  • (d)用墊片等移動設備進行調整,使千分表的讀數在表1或表2中偏心推薦值的2倍以內。
  • (e)移動設備以調整偏心時,請再次調整偏角。
偏角(ε)の調整
表1.定心推薦值/標準間隔
型號 定心推薦值
偏角 偏心
ε [mm]
法蘭
面間尺寸
J [mm]
θ
[deg]
T.I.R.
[mm]
NER59W 0.35 0.33 0.18 ±0.5
NER93W 0.35 0.39 0.22 ±0.5
NER230W 0.25 0.31 0.18 ±0.5
NER360W 0.25 0.36 0.22 ±0.5
NER630W 0.25 0.43 0.22 ±0.5
NER850W 0.25 0.48 0.25 ±0.5
表2對中推薦值/長間隔
型號 定心推薦值
偏角 偏心
(計算公式)
ε [mm]
法蘭
面間尺寸
J [mm]
θ
[deg]
T.I.R.
[mm]
NER59W 0.35 0.33 (J-44.4)×0.31×10-2 ±0.5
NER93W 0.35 0.39 (J-50.6)×0.31×10-2 ±0.5
NER230W 0.25 0.31 (J-58.8)×0.22×10-2 ±0.5
NER360W 0.25 0.36 (J-70.0)×0.22×10-2 ±0.5
NER630W 0.25 0.43 (J-76.4)×0.22×10-2 ±0.5
NER850W 0.25 0.48 (J-86.6)×0.22×10-2 ±0.5

偏角和偏心的關係

偏角和偏心的關係

3.中心部件安裝

  • (1)參考使用說明書中的組件圖,將中心單元安裝到輪轂上。
    センタユニット取付け

    圖1.中心單元的安裝

    輪轂外周和中央單元外周各2處 (單側) 有配合標記 (線) 。

    這些相位必須匹配。

    中央單元沒有方向性,左右都可以安裝。

  • (2) 用定位螺栓及六角孔螺栓固定輪轂和中心組件。

    此時,請將定位螺栓 (頭部為綠色的螺栓) 插入配合標記 (線) 部的槽孔中。不進入其他的槽孔。

    定位螺栓(綠色頭部的螺栓)在每側的兩個位置對稱地使用,角度為 180°(每個聯軸器四個位置)。

    位置決めボルトおよび六角穴付ボルトの挿入

    圖2.插入定位螺栓和六角孔螺栓

    定位螺栓及六角孔螺栓請務必使用表3的『定位螺栓及六角孔螺栓的擰緊扭矩』擰緊。

    表3.定位螺栓及六角孔螺栓的擰緊扭矩
    型號 螺栓尺寸 擰緊扭矩
    [N・m]
    NER59W M6 14
    NER93W M6 14
    NER230W M6 14
    NER360W M8 34
    NER630W M10 67
    NER850W M10 67
  • (3) 組裝完成後,請取下光碟部分的光碟保護板。
    ディスク保護板

    磁碟保護板每側安裝2個,共計4個。

4.檢查

請在進入實際運行1~2小時後,再次檢查偏角和偏心。

此時,請按表3規定的扭矩重新擰緊定位螺栓及六角孔螺栓。

此外,每半年~1年請確認零部件無異常或定位螺栓及六角孔螺栓無松動。

為了檢查是否有松動,建議安裝後在定位螺栓、六角孔螺栓和輪轂上做好標記。

請檢查其他零件是否有異常。