技術資料減速機傘齒輪箱選型
如果您想查看選擇程序和註意事項,請轉到以下步驟。
如果您希望縮小產品系列範圍或進行初步選擇,
單擊此處。
如果您已經決定了使用條件並希望進行詳細的選擇,
單擊此處。
ARA齒輪箱選型
選擇要求
(1)負荷扭矩或傳動kW (2) 輸入轉速 (3) 速比 (4) 負荷的性質 (5) 起動停止的頻率
選擇程序
考慮必要條件,按照以下要點進行選定。
1. 確定使用係數
目錄中的所有傳動能力表均為使用係數設定為 1.0 時的值。
根據使用條件使用係數表 1 中確定使用係數。
表1使用係數
| 負載性質 | 運行時間 | ||
|---|---|---|---|
| 2小時 | 10小時 | 24小時 | |
| 均勻載荷 | 1.00 (1.00) |
1.00 (1.25) |
1.25 (1.50) |
| 有輕微衝擊的負荷 | 1.00 (1.25) |
1.25 (1.50) |
1.50 (1.75) |
| 大衝擊載荷 | 1.25 (1.50) |
1.50 (1.75) |
1.75 (2.00) |
註)
- 1.1小時起動停止10次以上時或發動機為多筒發動機時,請使用 () 內的數值。
- 2. 以上使用係數僅供參考,請依實際使用情況決定係數。
2. 確定修正後的扭力或補正Kw
考慮使用係數(表 1),計算修正扭力或補正Kw。
修正扭力或修正kW = (施加於 ARA 系列的負載扭力或傳動kW)×使用係數(表 1)
3.確定格式
- - 從傳動能力表中選擇滿足在旋轉速度下修正扭力或補正Kw的尺寸(請參閱產品頁面)。
此外,還要檢查啟動和關閉期間的峰值扭力是否在所選尺寸傳動能力的 200% 以內。 - ·關於軸配置及旋轉關係,請根據上述軸配置、旋轉關係決定適當的型號。
4.檢查徑向載荷
在橫軸、十字軸上安裝鏈輪、齒輪、皮帶輪等進行驅動時,請按照下式確認徑向負荷。
·徑向負荷確認公式
容許徑向負荷≥
T×f×Lf
r
(容許徑向負荷)
- T=修正扭矩N・m
- f=O.H.L.係數 (表2)
- Lf=作用位置的係數 (表3)
- r = 鏈輪、皮帶輪等的節距圓半徑 m
注意:如果在檢查徑向負荷後,左側的公式不滿足,則必須增加鏈輪、皮帶輪等的節距圓半徑r。
表2 O.H.L.係數 (f)
| 鏈條 | 1.00 |
|---|---|
| 齒輪 帶齒皮帶 |
1.25 |
| V帶,強力齒形皮帶 | 1.50 |
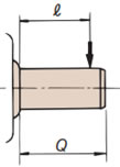
表3作用位置的係數 (Lf)
| 負荷施加於軸中央或 內側時l≤ Q 2 |
Lf = 1 |
|---|---|
| 載重來自軸的中心 如果它在外面 ℓ > 問 2 |
Lf = 2ℓ Q |
Q=輸出軸端的長度l=徑向負荷的作用位置
註)同時承受徑向負荷和軸向負荷時,請向本公司咨詢。
