技術資料大型输送鏈條處理

7.使用極限

下面就傳送鏈各部件的使用界限進行說明,請定期檢查各部件的磨損程度。

這個使用界限是根據傳送鏈自身的性能決定的值。從傳送帶本身的使用上來說有界限的情況下,請以那個為基準。

同時更換鏈條和鏈輪。

7.1各部分的使用限制

7.1.1R滾子、F滾子

以由於觸軌面及與套筒滑動部分的磨損,板的下面開始接觸導軌時為極限。

R·F滾子的極限

R·F滾子的極限

此外,導軌有彎曲部分時,如下圖所示,只有相當於S的尺寸磨損較少,敬請註意。

減少磨損

減少磨損

7.1.2S·M·N滾子

由於磨損,滾子厚度變為40%時。

7.1.3套筒

因磨損套筒壁厚達到40%時 (無法從外觀檢查) 。

7.1.4 C-Pin

由於磨損,銷軸直徑變為85%時 (無法從外觀檢查)

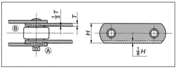
7.1.5鏈片厚度和寬度的磨損

板之間的滑動以及滾子側面和板內面之間的滑動會產生磨損,如下圖 (左) 中的AB所示。

磨損量超過板材正常厚度的1/3時為壽命。

此外,當鏈片直接搬運物或鏈片上滑動時,例如在輸送機的鏈條上,當鏈片的寬度 H 磨損到大約 1/8H 時,鏈片的使用壽命就結束了,如下圖(右)所示。

板磨損

板磨損

7.1.6鏈條磨損伸長

鏈條與鏈輪嚙合時,在導軌的彎曲部彎曲。由於此時套筒和銷子的滑動產生的磨損,鏈條的全長會延長。

該鏈的伸長極限通常為基準長度 (螺距×鏈節數) 的2% (螺距為100mm時,每1個鏈節可伸長2mm) 。

  • 1) 鏈條長度的測量方法
    チェーン長さの測り方

    在施加張力的地方,如上圖所示,盡可能多地測量偶數鏈節 (至少4個鏈節以上) 。

    請使用 (A) 或 (B) 測量位置。

    (A)從銷軸中心到銷軸中心

    (B)銷軸的一端到另一端

  • 2) 鏈伸長率 (%)

    用A、B中的任意一種方法測量鏈條的長度,與基準長度對比後,求出鏈條的伸長率 (%) 。

    鏈條延伸= 測量尺寸-基準長度 基準長度 ×100 (%)

7.1.7鏈輪齒面磨損、側面磨損

鏈輪的齒部在磨損的狀態下咬合鏈條的話,有時鏈條的磨損會變快。

鏈輪也和鏈條一樣,請定期檢查。

  • 1) 鏈輪齒面的磨損極限,請以下圖為基準。

    齒面磨損

    齒面磨損

    牙齒側面磨損

    牙齒側面磨損
  • 2)如果牙齒磨損,建議更換。如果歯底磨損,請勿反裝。