技術資料機械式過載保護機器
TGX過負荷扭矩保護装置有售
1.設置行程扭矩
- (1)所有過負荷扭矩保護装置TGX 產品在出廠時均設定為最小扭力值。請確保扭力指示器指向零位。
(請參閱使用使用說明書。) - (2)請從擰緊量-扭矩相關圖 (下表) 中,讀取並擰緊相當於預先確定的跳轉扭矩的調節螺母 (螺栓) 的擰緊角度。扭矩刻度的刻度為60°。最初,請將裝置設置在從相關圖讀取的緊固值的60°左右前,安裝到機器上,進行跳閘測試,依次增加放棄,設定為最佳的跳閘扭矩。產品的跳轉扭矩與下表的擰緊量-扭矩相關圖不一定一衹,請作為參考使用。
- (3)扭矩設定完成後,請將鎖定螺釘擰入調節螺母,防止松動。
- (4)請勿將調節螺母 (螺栓) 旋轉到扭矩刻度的最大值以上。跳閘時盤簧失去撓曲余地,變為鎖定狀態。有關鎖定螺釘的擰緊扭矩和註意事項,請參照此處。
擰緊量-扭矩相關圖
2.定心方法
- (1)定心方法I
- a.將法蘭與輪轂和中心法蘭分離。
- b.移動。測量I尺寸。(表1)
- c.在軸上固定千分表,在輪轂的側面和外周測量跳動。
- (2)定心方法II
- a.分離法蘭和中心法蘭。
- b.軸上固定千分表,在輪轂的側面和外周測量跳動。
- c.移動輪轂。測量I尺寸。(表1)
| 註意: | 請務必按照表1的I尺寸安裝。有不能在無背隙狀態下使用的情況。 |
表1
| 型號 | I尺寸mm |
|---|---|
| TGX10-C | 2 |
| TGX20-C | 3 |
| TGX35-C | 3 |
| TGX50-C | 4 |
| TGX70-C | 4 |
容許不對中量
| 型號 | 容許不對中 | ||
|---|---|---|---|
| 偏角 deg | 偏心mm | 終端播放mm | |
| TGX10-C | 0.6 | 0.1 | ±0.5 |
| TGX20-C | 0.6 | 0.1 | ±0.5 |
| TGX35-C | 0.6 | 0.1 | ±0.5 |
| TGX50-C | 0.6 | 0.1 | ±0.6 |
| TGX70-C | 0.6 | 0.1 | ±0.7 |
參考角度誤差θ = 輪轂側跳動值(每 0.1°)
| 型號 | 外徑mm | 輪轂振動值mm |
|---|---|---|
| TGX10-C | Φ53 | 0.092 |
| TGX20-C | Φ75 | 0.131 |
| TGX35-C | Φ98 | 0.171 |
| TGX50-C | Φ138 | 0.241 |
| TGX70-C | Φ177 | 0.309 |
*請盡量減少安裝角度誤差。
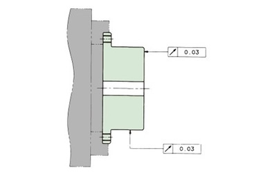
3.軸孔加工
加工過負荷扭矩保護装置TGX 和聯軸器Type TGX-C 的軸孔時,請參考拆卸、加工和組裝使用說明書。
| 型號 | 尺寸 | |||||
|---|---|---|---|---|---|---|
| A×螺紋直徑 | B×螺紋直徑 | C×螺紋直徑 | a mm | b mm | c mm | |
| TGX10 | 21×M4以下 | - | - | 30 | - | - |
| TGX20 | 20.5×M5以下 | - | - | 40 | - | - |
| TGX35 | 20.5×M6 | - | - | 55 | - | - |
| TGX50 | 24.5×M6 | - | - | 80 | - | - |
| TGX70 | 25×M6 | - | - | 100 | - | - |
| TGX10-C | - | 8×M4以下 | 21×M4以下 | - | 33 | 30 |
| TGX20-C | - | 12×M8以下 | 20.5×M5 | - | 55 | 40 |
| TGX35-C | - | 11×M10以下 | 20.5×M6 | - | 70 | 55 |
| TGX50-C | - | 13×M10以下 | 24.5×M6 | - | 92 | 80 |
| TGX70-C | - | 15×M10以下 | 25×M6 | - | 116 | 100 |
過負荷扭矩保護装置
聯軸器類型
加工前,將輪毂端面夾緊並按下圖所示居中。
請固定法蘭外徑,如下圖所示進行對中加工。
